EasyManua.ls Logo

Sime 1R - Page 59

Sime 1R
Print Icon
To Next Page IconTo Next Page
To Next Page IconTo Next Page
To Previous Page IconTo Previous Page
To Previous Page IconTo Previous Page
Loading...
57
ÓÙ›˙˜, ¯ÚËÛÈÌÔÔÈÒÓÙ·˜ Ù· ‰‡Ô
Á·Ï‚·ÓÈṲ̂ӷ ·ÍÈÌ¿‰È·.
TÔÔıÂÙ›ÛÙ ÙËÓ ÔÚÈ˙fiÓÙÈ·
ÙÚ·‚¤ÚÛ· (4) ÛÙȘ οو ÓÙ›˙˜
·ÊÔ‡ ÙÔÔıÂÙ‹ÛÂÙ ٷ ‰‡Ô
ÁˆÓȷο ÂÏ¿ÛÌ·Ù· Î·È ÛÊ›ÍÙ ÌÂ
Ù· ‰‡Ô Ù˘ÊÏ¿ ·ÍÈÌ¿‰È·.
MÔÓÒÛÙÂ ÙÔ ÛÒÌ· ÌÂ ÙÔÓ
˘·ÏÔ‚¿Ì‚·Î· (1).
™ÙÂÚÂÒÛÙ ٷ Ï·˚Ó¿ η¿ÎÈ· (5)
Î·È (6) ÛÙ· ÁˆÓȷο ÂÏ¿ÛÌ·Ù· ÌÂ
ÙȘ 10 Ï·Ì·ÚÈÓfi‚ȉ˜, Ô˘
˘¿Ú¯Ô˘Ó ÁÈ’ ·˘Ùfi ÙÔÓ ÛÎÔfi,
Â›Û˘ ÛÙËÓ ›Ûˆ ÌÂÚÈ¿
·ÛÊ·Ï›ÛÙ ٷ, Ì ٷ ·ÍÈÌ¿‰È·
ÛÙȘ ÓÙ›˙˜.
™ÙÂÚÂÒÛÙ ÙÔ ›Ûˆ οو η¿ÎÈ
(7) Ì ÙȘ 8 Ï·Ì·ÚÈÓfi‚ȉ˜, Ô˘
˘¿Ú¯Ô˘Ó ÁÈ’ ·˘Ùfi ÙÔÓ ÛÎÔfi.
™ÙÂÚÂÒÛÙ ÙÔ ›Ûˆ ¿Óˆ η¿ÎÈ
(8) Ì ÙȘ 6 Ï·Ì·ÚÈÓfi‚ȉ˜, Ô˘
˘¿Ú¯Ô˘Ó ÁÈ’ ·˘Ùfi ÙÔÓ ÛÎÔfi.
™ÙÂÚÂÒÛÙ ÙÔÓ ›Ó·Î· ÂϤÁ¯Ô˘
(12) ÛÙÔ Î·¿ÎÈ (13)
¯ÚËÛÈÌÔÔÈÒÓÙ·˜ ÙÔ ÎfiÓÙÚ·
·ÍÈÌ¿‰È (14).
•ÂÙ˘Ï›ÍÙ ٷ ÛˆÏËÓ¿ÎÈ· ÙˆÓ
ıÂÚÌÔÛÙ·ÙÒÓ Î·È ıÂÚÌÔ̤ÙÚÔ˘
ÙÔÔıÂÙÒÓÙ·˜ Ù· ·ÈÛıËÙ‹ÚÈ·
ÛÙËÓ ÊˆÏÈ¿ (11). AÛÊ·Ï›ÛÙ ٷ
·ÈÛıËÙ‹ÚÈ· ÌÂ ÙÔ ÂÏ·Ù‹ÚÈÔ Ô˘
˘¿Ú¯ÂÈ ÛÙËÓ ÊˆÏÈ¿.
™Ê›ÍÙ ÙÈ ÛˆÏËÓ¿ÎÈ ÙÔ˘
˘‰ÚÔ̤ÙÚÔ˘ ÛÙËÓ ·ÓÂ›ÛÙÚÔÊË
‚·Ï‚›‰· (10).
AÔÙÂÏÂÈÒÛÙ ÙËÓ Û˘Ó·ÚÌÔÏfiÁËÛË
ÎÔ˘ÌÒÓÔÓÙ·˜ ÙÔ Î·¿ÎÈ (13), ηÈ
ÙÔÓ ›Ó·Î· ÂϤÁ¯Ô˘ (9) ÛÙ· Ï·˚Ó¿
η¿ÎÈ·.
™HMEIø™H: AÊ·ÈÚ¤ÛÙÂ ÙÔ
“¶ÈÛÙÔÔÈËÙÈÎfi ‰ÔÎÈÌ‹˜” ·fi ÙÔ
ı¿Ï·ÌÔ Î·‡Û˘ Î·È Ê˘Ï¿ÍÙ ÙÔ ÌÂ
ÙÔ ÂÁ¯ÂÈÚ›‰ÈÔ Ô‰ËÁÈÒÓ.
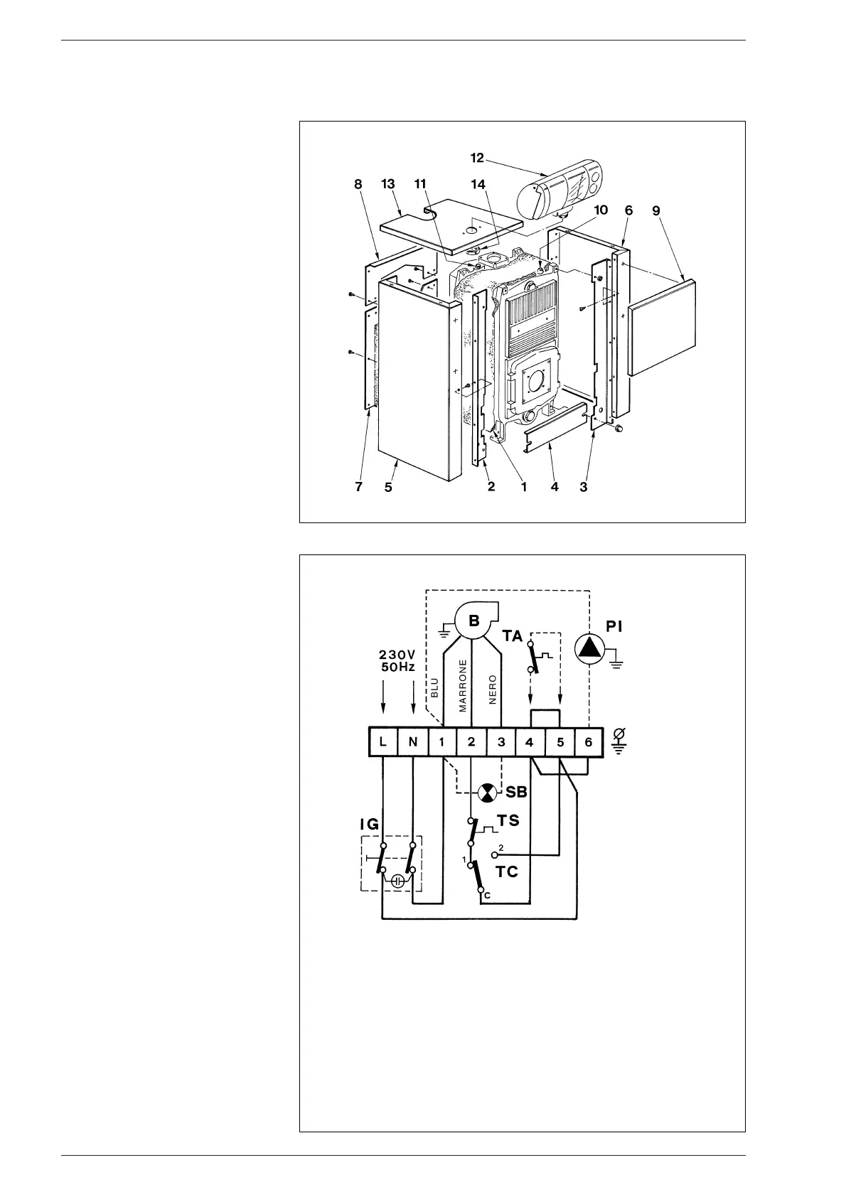
2.7 H§EKTPO§O°IKE™
™YN¢E™EI™
O Ϥ‚ËÙ·˜ ÙÚÔÊÔ‰ÔÙ›Ù ̤ۈ
ÂÓfi˜ ηψ‰›Ô˘ Ì ÌÔÓÔÊ·ÛÈÎfi
Ú‡̷ 230V - 50Hz ̤ۈ ÂÓfi˜
·ÛÊ·ÏÂÈԉȷÎfiÙÔ˘.
O ıÂÚÌÔÛÙ¿Ù˘ ¯ÒÚÔ˘ (··ÈÙ›ٷÈ
ÁÈ· ÙÔÓ ¤ÏÂÁ¯Ô ¿ÓÂÛ˘) Û˘Ó‰¤ÂÙ·È
ÛÙȘ ÎϤ̘ 4-5, ·ÊÔ‡ ·Ê·ÈÚÂı› Ë
Á¤Ê˘Ú· (ÂÈÎ. 9).
™˘Ó‰¤ÛÙ ÙÔÓ Î·˘ÛÙ‹Ú· ÛÙÔ
˘¿Ú¯ÔÓ Î·ÏÒ‰ÈÔ.
™HMEIø™H: H SIME ·ÔÔÈ›ٷÈ
οı ¢ı‡Ó˘ ˙ËÌÈÒÓ Û ˘ÏÈο ‹
¿ÙÔÌ· Û ÂÚ›ÙˆÛË Ô˘ ¤ÁÈÓ·Ó
ÏfiÁˆ ¤ÏÏÂȄ˘ Á›ˆÛ˘ ÛÙËÓ
Û˘Û΢‹.
¶INAKA™
IG °ÂÓÈÎfi˜ ‰È·ÎfiÙ˘
TA £ÂÚÌÔÛÙ¿Ù˘ ¯ÒÚÔ˘ (‰ÂÓ ·Ú¤¯ÂÙ·È)
PI K˘ÎÏÔÊÔÚËÙ‹˜ (‰ÂÓ ·Ú¤¯ÂÙ·È)
TC £ÂÚÌÔÛÙ¿Ù˘ ÌÂÁ›ÛÙÔ˘ (Ú‡ıÌÈÛ˘ Ϥ‚ËÙ·)
TS £ÂÚÌÔÛÙ¿Ù˘ ·ÛÊ·Ï›·˜
B K·˘ÛÙ‹Ú·˜ (‰ÂÓ ·Ú¤¯ÂÙ·È)
SB §˘¯Ó›· ‚Ï¿‚˘ η˘ÛÙ‹Ú·
™HMEIø™H: O ıÂÚÌÔÛÙ¿Ù˘ ¯ÒÚÔ˘ Û˘Ó‰¤ÂÙ·È
ÛÙȘ ÎϤ̘ 4-5, ·ÊÔ‡ ·Ê·ÈÚÂı› Ë Á¤Ê˘Ú·.
∂ÈÎ. 8
∂ÈÎ. 9

Related product manuals