EasyManua.ls Logo

Simplicity 1691886 - Tractors with Eaton 850 Transaxle; Neutral Adjustment for Eaton 850 Transaxle

Simplicity 1691886
40 pages
Print Icon
To Next Page IconTo Next Page
To Next Page IconTo Next Page
To Previous Page IconTo Previous Page
To Previous Page IconTo Previous Page
Loading...
17
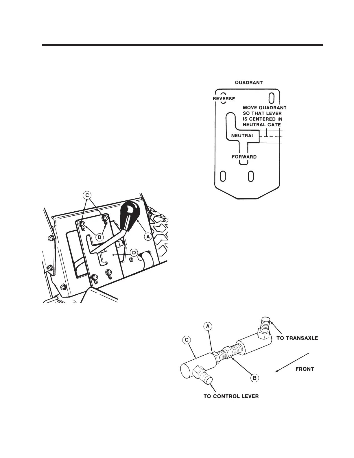
Figure 5-2.
9. Loosen the jam nut (A, figure 5-3) on the speed control
linkage. Make sure control lever is still centered in neutral
gate.
10.While holding front ball joint (C), turn hex face on adjuster
shaft (B) until tires do not rotate.
11.Hold adjuster shaft (B) in place and tighten jam nut (A) up
by hand.
12.Hold ball joint still and tighten jam nut (A). Adjuster shaft
must not turn when tightening jam nut.
13.Recheck control lever in neutral gate. If lever is not centered,
loosen capscrews and adjust quadrant up or down to center
lever in neutral gate. Retighten capscrews.
14.Turn tractor off. Replace front access panel, replace knob,
and close seat deck. Remove jackstands.
Figure 5-3.
A. Jamnut
B. Adjuster Shaft
C. Front Ball Joint
Neutral Adjustment
NOTE
The tractor may creep a small amount forward or
back-ward while in neutral gate when the parking
brake is not locked. Move control lever slightly
forward or back in the neutral gate to eliminate
creeping. If neutral is not found in neutral gate,
perform the following adjustment.
1. Raise the rear end of tractor off the ground.
Support tractor with heavy-duty jackstands
underneath the transaxle.
2. Securely block the front wheels to prevent any
forward or reverse tractor movement.
3. Open the seat deck. Unscrew knob and remove
front access panel by lifting over ground speed
control lever (A, figure 5-1).
4. Loosen, but do not remove, four capscrews (B) and
washers (C) securing quadrant (D). Make sure that
quadrant is free to move up and down.
Figure 5-1.
A. Speed Control
Lever
B. Capscrews
C. Washers
D. Quadrant
5. Start the tractor and move throttle halfway to full
speed. Move the control lever up or down to find
exact neutral (tires do not rotate).
6. Adjust the quadrant so that the control lever is
centered from top to bottom in neutral gate. Refer
figure 5-2. Tighten capscrews if adjustment is
correct.
NOTE:
Only if control lever cannot be centered in neutral
gate, adjustment must be made to the speed control
linkage under-neath tractor (steps 7-13). Otherwise
continue to step 14.
7.
Move quadrant (D, figure 5-1) so that top of
capscrew (B) slots align with top of washers (C).
Tighten four capscrews.
Section 5.
Tractors with Eaton 850 Transaxle
8. Stroke control lever to full forward position and return
lever to neutral. Center the lever in the neutral gate. Tires
will be rotating forward or backward.

Related product manuals