EasyManua.ls Logo

Simrad IS15 - Page 25

Simrad IS15
46 pages
Print Icon
To Next Page IconTo Next Page
To Next Page IconTo Next Page
To Previous Page IconTo Previous Page
To Previous Page IconTo Previous Page
Loading...
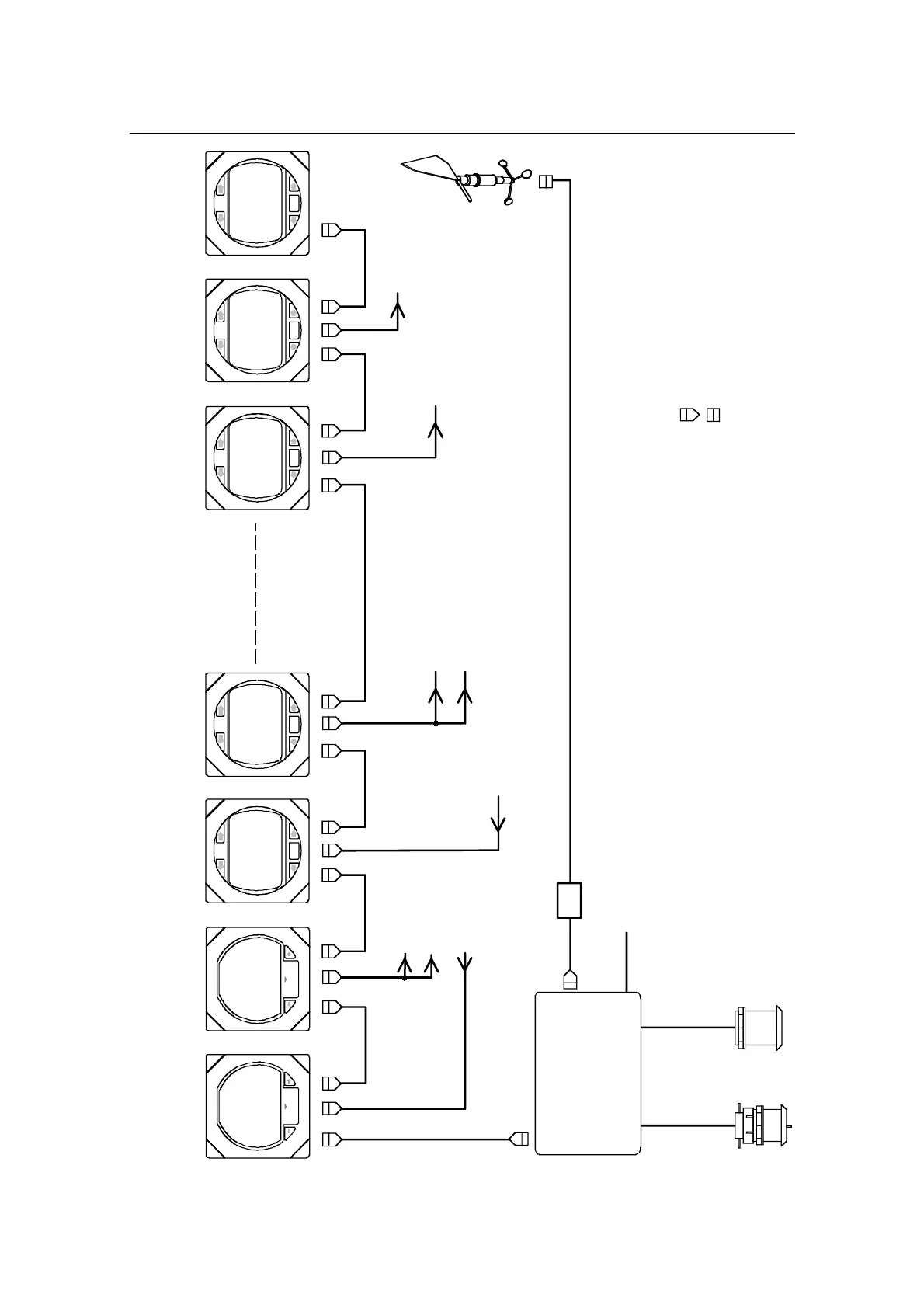
IS15 Wind Manual
24 20220752G
Speed/temp
transducer
Depth
transducer
Supply 10,8-15,6VDC
SIMRAD
Wind
Transducer
*
SIMRAD
*
*
*
IS15 Multi (Speed)
SIMRAD
SIM RAD
* *
0,3m (1')
10m (33')
30m (99')
0,3m (1') 0,3m (1')
10m (33') 10m (33')
10m (33')
IS15
Transceiver
Junction box (mast foot)
SIMRAD
SIMRAD
SIMRAD
* *
0,3m (1') 0,3m (1')
*
5-10m (16-33')
IS15 Multi (Depth)
IS15 Wind
IS15 Compass IS15 Multi (Speed) IS15 Multi (Depth) IS15 Compass
Group no. 1 Group no. 2
The order of instrument interconnection
may be any preferred order.
Note:
*
Roblink data Bus
Roblink Cable/Connector
Wind Transducer Connector
**
NMEA data
From Autopilot
To Autopilot
From Chartplotter (NMEA)
To Radar
To Chartplotter (NMEA)
****
**
**
**
To Radar (alternative)
To Chartplotter
(alternative)
To VHF radio
**
Figure 5-5 IS15 Instrument system – Cabling diagram

Related product manuals