EasyManua.ls Logo

Singer 2010 - Auto-lock and Needle Position Buttons

Singer 2010
84 pages
Print Icon
To Next Page IconTo Next Page
To Next Page IconTo Next Page
To Previous Page IconTo Previous Page
To Previous Page IconTo Previous Page
Loading...
25
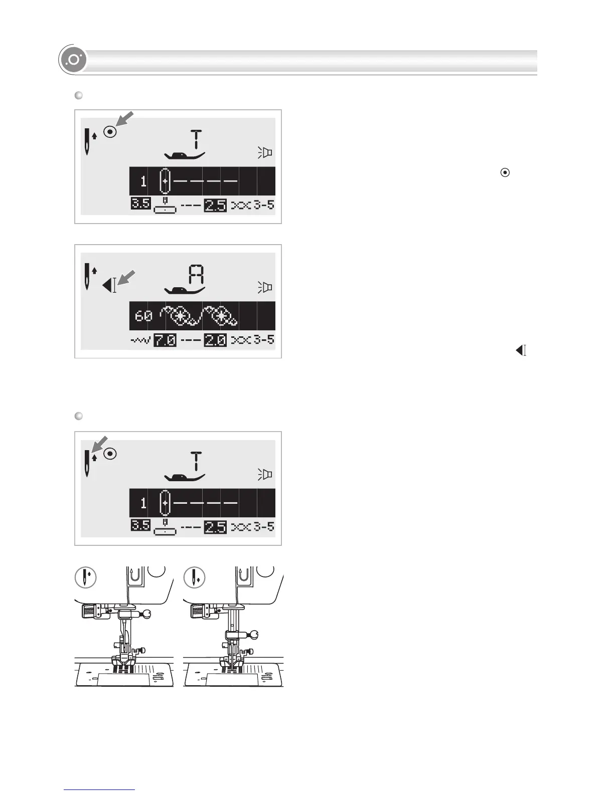
OPERATION BUTTONS
Needle up/ down position button
With the Needle up/ down position button,
you decide whether the needle shall stop in
the up position or in the material when you
stop sewing.
When you press the button so that the arrow
(which displays just to the right of the needle
icon on the LCD screen) will point upward, the
needle will stop in the highest position.
When you press the button so that the arrow
(which displays just to the right of the needle
icon on the LCD screen) points downward, the
machine will stop with the needle in the lowest
position.
When Direct Patterns 1-4, and A Group Pattern
00 are selected, the machine will immediately
sew 3 locking stitches when the Auto-lock
button is pressed, then automatically stop.
The LCD screen will display the figure " " until
the machine is stopped.
Auto-lock button
When Direct Patterns 5-9, A Group Patterns
01-13 , 28-99, and B Group Patterns 00-99
are selected, press the Auto-lock button, the
machine will sew 3 locking stitches at the end
of the current pattern and automatically stop.
The function will be cancelled if you press the
button once again or select another pattern.
The LCD screen will display the figure " "
until the machine is stopped.

Table of Contents

Related product manuals