EasyManua.ls Logo

Singer 20U-105C - Setup and Adjustment Instructions; Table Cut-Out Drawing

Singer 20U-105C
58 pages
Print Icon
To Next Page IconTo Next Page
To Next Page IconTo Next Page
To Previous Page IconTo Previous Page
To Previous Page IconTo Previous Page
Loading...
5
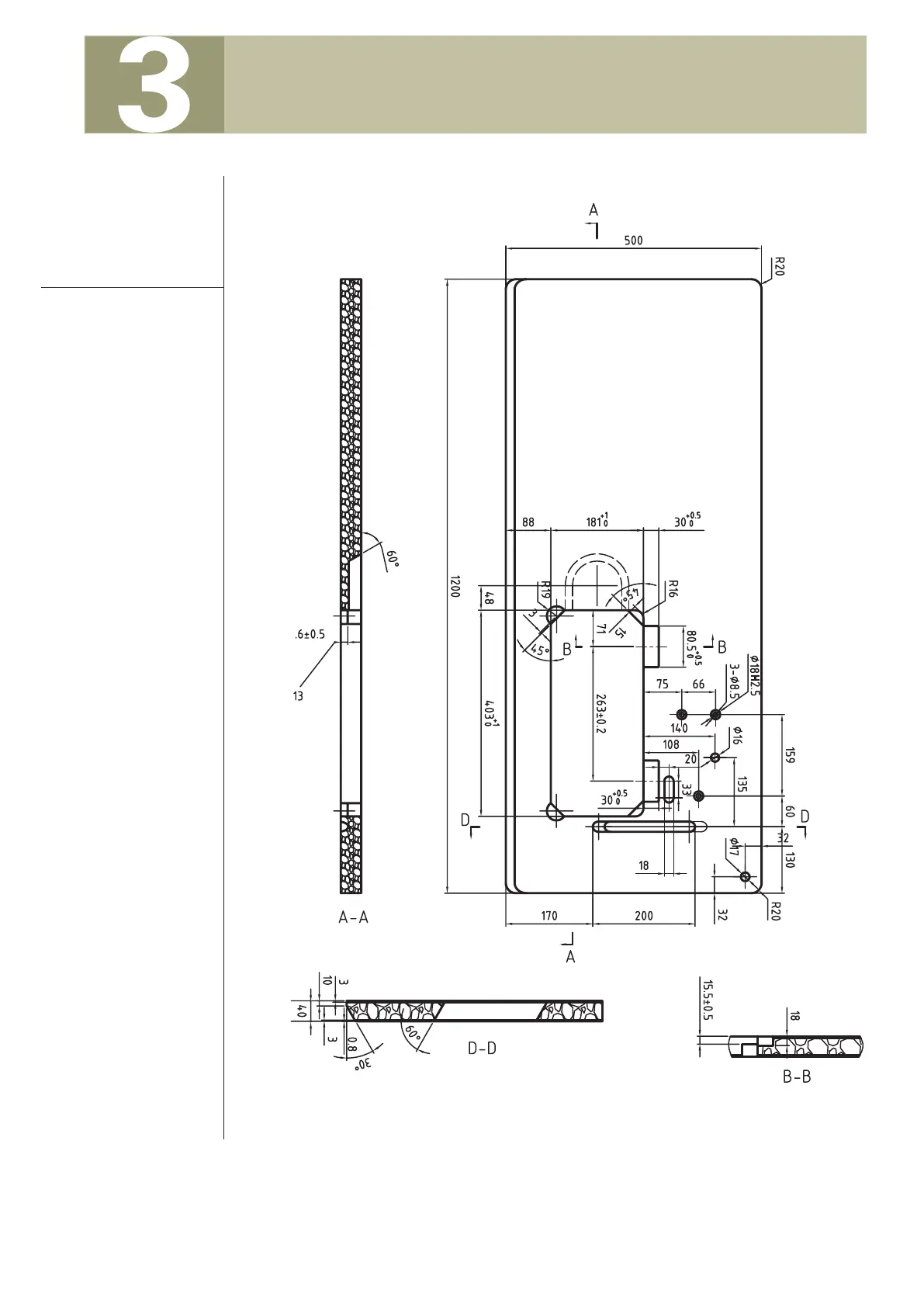
Setup and Adjustment Instructions
3.1
Table Cut-Out
Drawing
Figure 1
Zigzag Sewing Machine
|
Instruction Manual and Parts List

Table of Contents

Related product manuals