EasyManua.ls Logo

Siruba VC008A - Calibration of Force of Toeing Forward; Heeling Backward; Installation of Control Box; Installation of Speed Control Unit

Siruba VC008A
32 pages
Print Icon
To Next Page IconTo Next Page
To Next Page IconTo Next Page
To Previous Page IconTo Previous Page
To Previous Page IconTo Previous Page
Loading...
5
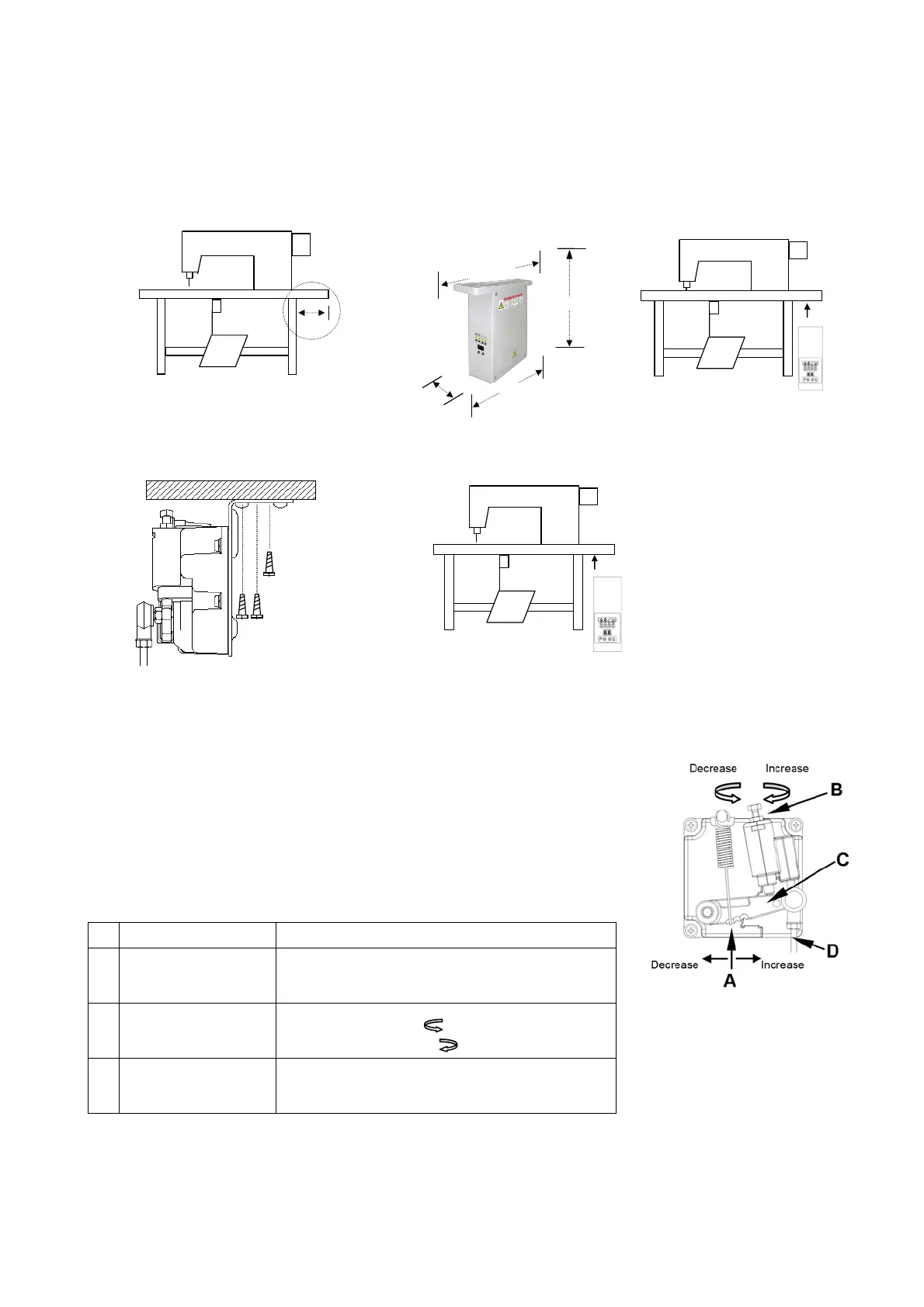
(2). Installation of Control Box:
(3). Installation of Speed Control Unit:
(4). Calibration of force of toeing forward/ heeling backward (Speed Control Unit):
Calibration requirement Calibration result
1
Calibration of force
of toeing forward
When spring A leans towards right, force is increased.
When spring A leans towards left, force is reduced.
2
Calibration of force
of heeling backward
Turn bolt B upwards ( ) to decrease force.
Turn bolt B downwards ( ) to increase force.
3
Calibration of stroke
length of pedal
Secure Rod D at right-side hole to increase length.
Secure Rod D at left -side hole to reduce length.
a). Reserve space of more than b). Install the TD control box underneath the table. c). Illustration diagram after
100 mm at the right side of the pedal installation
100 mm
a). Fix the bracket of speed control unit underneath the table b). Illustration diagram after installation
60mm
247.5mm
175.6mm
Diagram with dimensions
232.6mm
Parts of speed control unit: see figure
A: Spring for calibrating force of toeing forward
B: Bolt for calibrating force of heeling backward
C: Pedal arm
D: Pitman rod for pedal
Control
box
Reservation
space

Table of Contents

Other manuals for Siruba VC008A

Related product manuals