EasyManua.ls Logo

Snorkel A38E - Page 115

Snorkel A38E
136 pages
Print Icon
To Next Page IconTo Next Page
To Next Page IconTo Next Page
To Previous Page IconTo Previous Page
To Previous Page IconTo Previous Page
Loading...
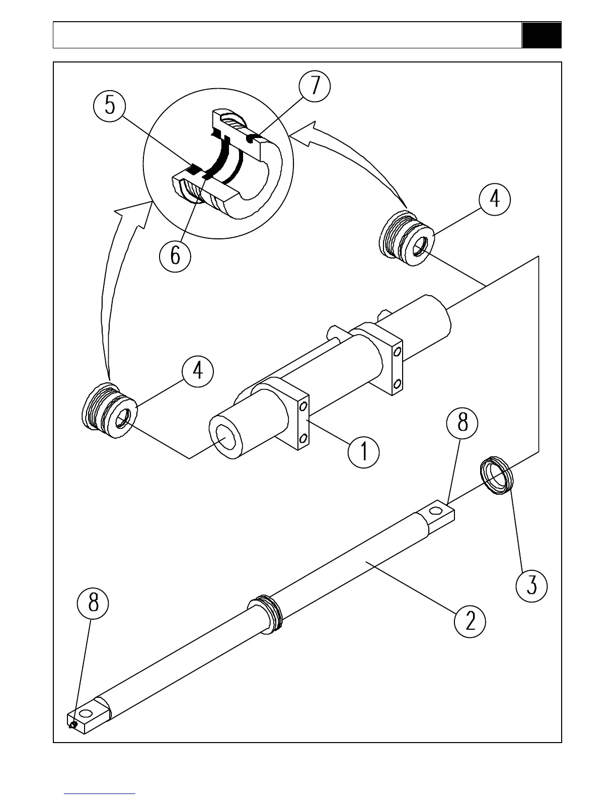
Illustrated Parts Breakdown
Section
7-37A38E Work Platform
7.2

Table of Contents

Other manuals for Snorkel A38E

Related product manuals