EasyManua.ls Logo

socomec DIRIS Digiware U-10 - Page 42

socomec DIRIS Digiware U-10
70 pages
Print Icon
To Next Page IconTo Next Page
To Next Page IconTo Next Page
To Previous Page IconTo Previous Page
To Previous Page IconTo Previous Page
Loading...
42 EN
#(1(2#(&(6 1$ŰŰ$2.".,$"
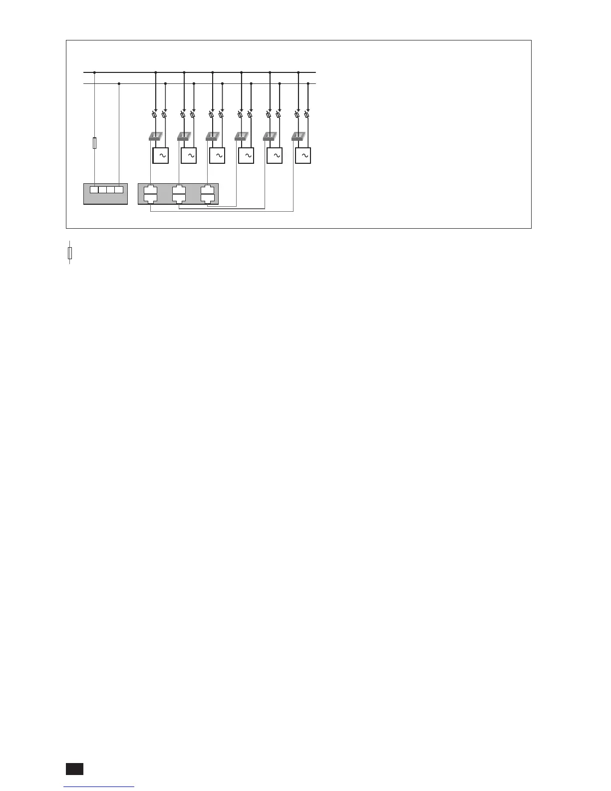
Single-phase 1P+N – 1CT (x6)
RHMFKDOG@RDKN@CR
V1 V2 V3 VN
V
I
L1
N
I01 I02 I03I04 I05 I06
I01 I02 I03
1 1 1 1 1 1
 F&!2 F& BK@RR""ETRD
(ERDKERTOOKHDC@ETRDRGNTKCAD@CCDCSNSGDMDTSQ@K
%TRDŰ F&!2 F&Ű BK@RR""
Notes relating to connections:
The $@RX"NMkFRNESV@QDB@M@KRNADTRDCSNRDKDBSMTLDQNTRNSGDQBNMjFTQ@SHNMU@QH@MSRENQSGDSXODRNEKN@CR
@MC@RRNBH@SDCMDSVNQJUNKS@FDR
3P – 2CTSGHRBNMMDBSHNMQDCTBDRSGD@BBTQ@BXNESGDOG@RDRSGDBTQQDMSENQVGHBGHRVNQJDCNTSAXUDBSNQ
B@KBTK@SHNMAX
3P – 1CTSGHRBNMMDBSHNMQDPTHQDR@SGQDDOG@RDMDSVNQJSG@SHRODQEDBSKXA@K@MBDC
6.3.3. Connection of the functional earth
It is recommended that the functional earth is connected to guarantee optimum measuring accuracy and better
DLHRRHUHSXHLLTMHSXENQSGDDKDBSQNL@FMDSHBBNLO@SHAHKHSXBK@RR!HMBNMCTBSDCDLHRRHNM$@QSGLTRSMNSADTRDC
in a neutral IT system.

Table of Contents

Other manuals for socomec DIRIS Digiware U-10

Related product manuals