EasyManua.ls Logo

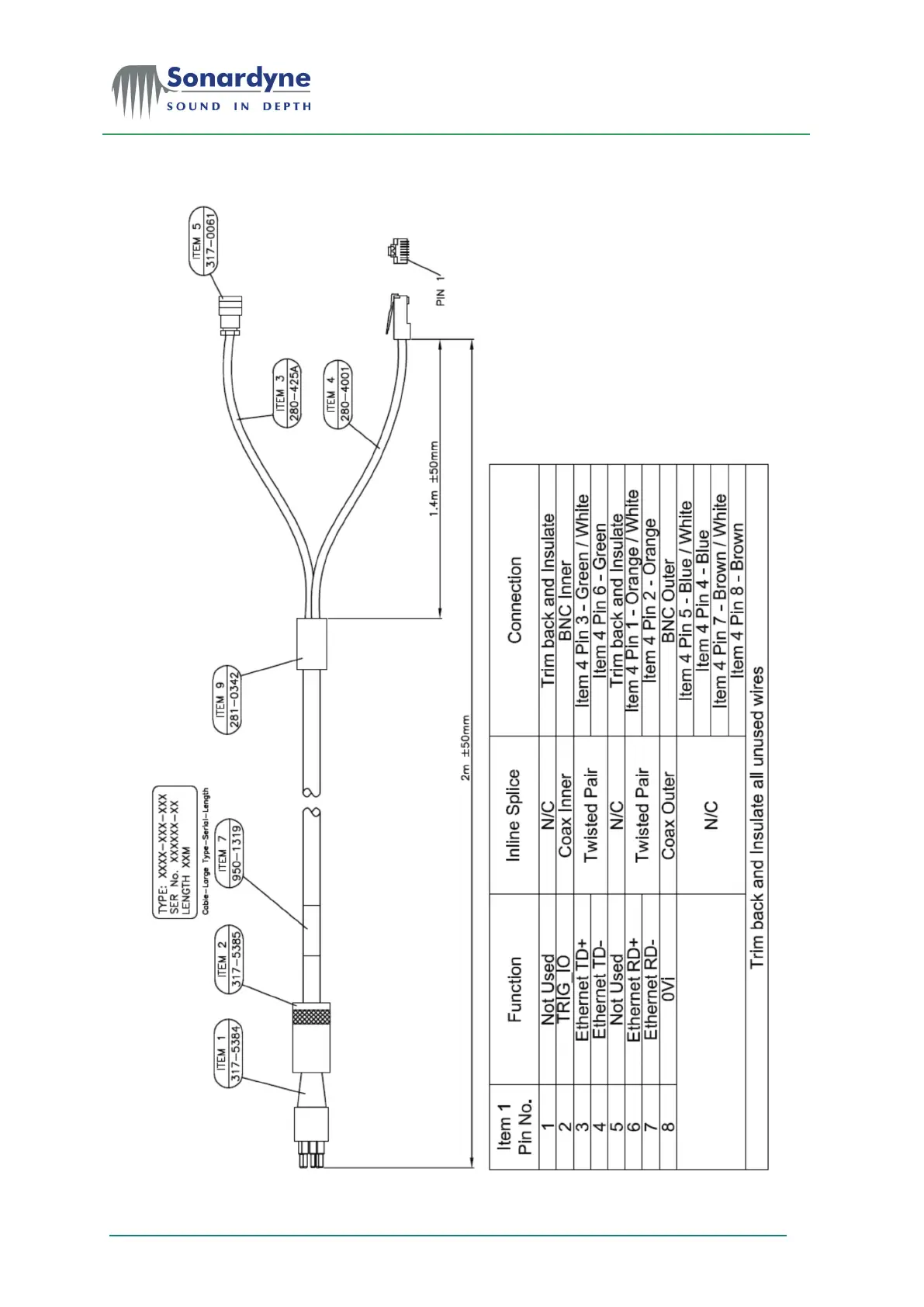
Sonardyne Lodestar - Figure 27 - Subsea Lodestar Comms Ethernet Cable

Sonardyne Lodestar
58 pages
Print Icon
To Next Page IconTo Next Page
To Next Page IconTo Next Page
To Previous Page IconTo Previous Page
To Previous Page IconTo Previous Page
Loading...
Lodestar Hardware
Manual
Document Ref: UM-8084-
101
Issue: ARev
8
© Sonardyne International Limited 201
3
55
Figure 27Subsea Lodestar Comms Ethernet CableCPN 820-0072

Table of Contents