EasyManua.ls Logo

Sony BDP-S495 - Playing Via a Network

Sony BDP-S495
44 pages
Print Icon
To Next Page IconTo Next Page
To Next Page IconTo Next Page
To Previous Page IconTo Previous Page
To Previous Page IconTo Previous Page
Loading...
22
Playing via a Network
Sony Entertainment Network serves as a
gateway, delivering the selected Internet
content and a variety of on-demand
entertainment straight to your player.
z
Some Internet content requires registration
via a PC before it can be played.
Some Internet content may not be available
in some regions/countries.
1 Connect the player to a network
(page 16).
2 Press SEN button on the remote.
3 Select an Internet content and a
variety of on-demand
entertainment using </M/m/,,
and press ENTER.
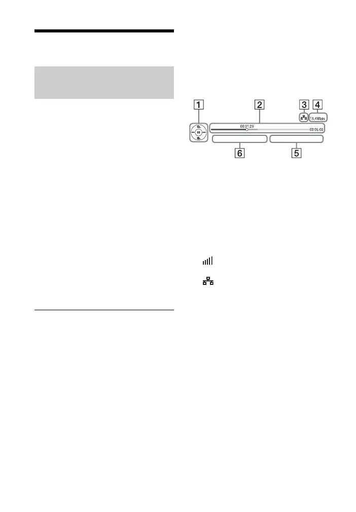
Video streaming control panel
The control panel appears when the
video file starts playing. The displayed
items may differ depending on Internet
content providers.
To display again, press DISPLAY.
A Control display
Press </M/m/, or ENTER for
playback operations.
B Playing status bar
Status bar, Cursor indicating the
current position, Playing time,
Duration of the video file
C Network condition
indicates the signal strength for
wireless connection.
indicates the wired connection.
D Network transmission speed
E The file name of the next video
F The file name of the current video
selection
Enjoying Sony Entertainment
Network

Related product manuals