EasyManua.ls Logo

Sony CDP-C701ES - Optical Pick-up Block

Sony CDP-C701ES
32 pages
Print Icon
To Next Page IconTo Next Page
To Next Page IconTo Next Page
To Previous Page IconTo Previous Page
To Previous Page IconTo Previous Page
Loading...
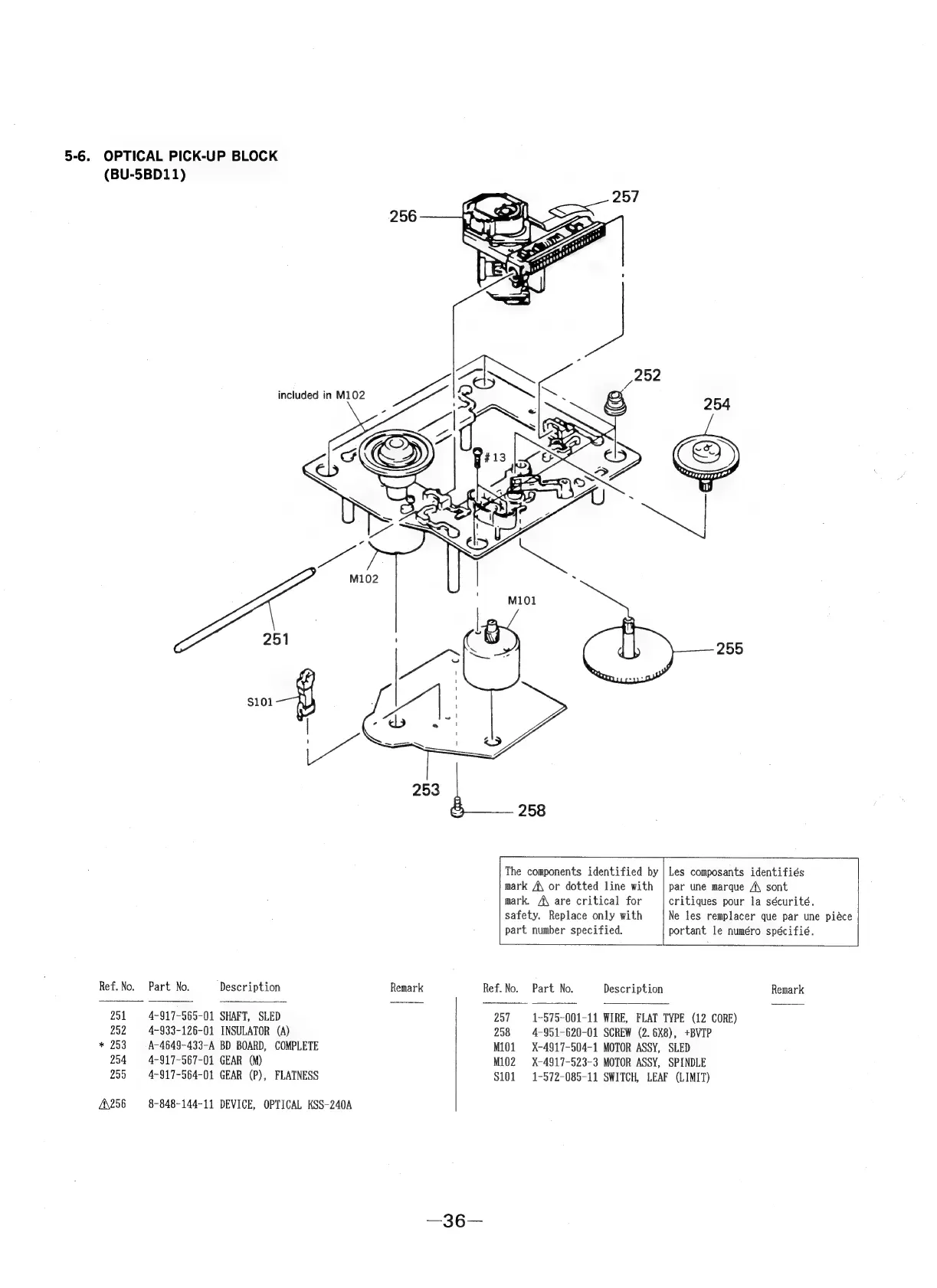
5-6.
OPTICAL
PICK-UP
BLOCK
(BU-5BD11)
251
$101
258
The
components
identified
by
|
Les
composants
identifiés
mark
A\
or
dotted
line
with
|
par
une
marque
A\
sont
mark.
A\
are
critical
for
critiques
pour
la
sécurité.
safety.
Replace
only
with
Ne
les
remplacer
que
par
une
piéce
part
number
specified.
portant
le
numéro
spécifié.
Ref.
No.
Part
No.
Description
Remark
Ref.
No.
Part
No.
Description
Remark
251
4-917-565-01
SHAFT,
SLED
257
1-575-001-11
WIRE,
FLAT
TYPE
(12
CORE)
252
4~933-126-01
INSULATOR
(A)
258
4-951-620-01
SCREW
(2.
6X8),
+BVTP
*
253
A-4649-433-A
BD
BOARD,
COMPLETE
M101
X-4917-504-1
MOTOR
ASSY,
SLED
254
4-917-567-01
GEAR
(M)
M102
X-4917-523-3
MOTOR
ASSY,
SPINDLE
255
4-917-564-01
GEAR
(P),
FLATNESS
$101
=1-572-085-11
SWITCH,
LEAF
(LIMIT)
A256
~—-8-848-
144-11
DEVICE,
OPTICAL
KSS-240A

Related product manuals