EasyManua.ls Logo

Sony CDP-EX770 - Disassembly

Sony CDP-EX770
143 pages
Print Icon
To Next Page IconTo Next Page
To Next Page IconTo Next Page
To Previous Page IconTo Previous Page
To Previous Page IconTo Previous Page
Loading...
– 19 –
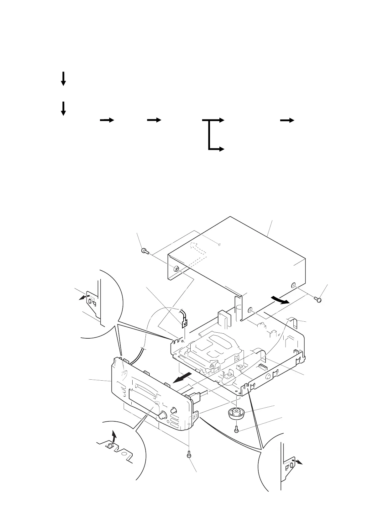
This set can be disassembled in the order shown below.
SECTION 3
DISASSEMBLY
SHUTTER ASS'Y
(Page 22)
OVER WRITE HEAD
(Page 22)
SLIDER COMPLETE
ASS'Y
(Page 23)
NOTE FOR
INSTALLATION
• SLIDER COMPLETE
ASS'Y (Page 23)
BD BOARD
(Page 21)
BRACKET (T), (L), (R)
(Page 20)
MECHANISM DECK
(Page 20)
CASE, FRONT PANEL
SECTION (Page 19)
SUB CHASSIS
(Page 21)
Note: Follow the disassembly procedure in the numerical order given.
9
lead
(with connector)
8
claw
4
two legs (F)
3
two screws
(BV3
×
10)
7
flat wire (19 Core)
(CN700)
6
flat wire (5 Core)
(CN800)
1
two screws
(case 3 TP2)
2
case
1
two screws
(case 3 TP2)
front panel
section
CASE, FRONT PANEL SECTION
5
three screws
(BV3
×
10)
8
claw
8
claw

Related product manuals