EasyManua.ls Logo

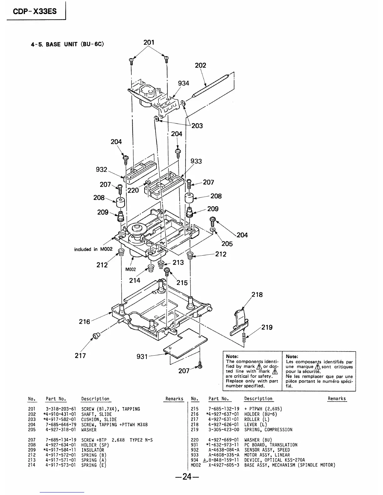
Sony CDP-X33ES - Section 4: Base Unit Section; Base Unit Exploded View

Sony CDP-X33ES
24 pages
Print Icon
To Next Page IconTo Next Page
To Next Page IconTo Next Page
To Previous Page IconTo Previous Page
To Previous Page IconTo Previous Page
Loading...

Related product manuals