EasyManua.ls Logo

Sony CDX-GT700UI - Radio; Almacenamiento y Recepción de Emisoras; Almacenamiento Automático - BTM; Almacenamiento Manual

Sony CDX-GT700UI
68 pages
Print Icon
To Next Page IconTo Next Page
To Next Page IconTo Next Page
To Previous Page IconTo Previous Page
To Previous Page IconTo Previous Page
Loading...
11
Radio
Almacenamiento y recepción
de emisoras
Se debe ajustar el paso de sintonización
(página 6).
Nota
Si sustituye la batería del automóvil, cambia las
conexiones o restaura la unidad, el ajuste del paso de
sintonización se borrará y tendrá que volver a
ajustarlo.
Precaución
Para sintonizar emisoras mientras maneja, utilice
la función BTM (Memoria de la mejor sintonía)
para evitar accidentes.
Almacenamiento automático
— BTM
1 Presione (SOURCE/OFF) varias veces
hasta que aparezca “TUNER”.
Para cambiar de banda, presione (MODE)
varias veces. Puede seleccionar entre FM1,
FM2, FM3, AM1 y AM2.
2 Mantenga presionado el botón de
selección.
Aparecerá la pantalla de ajustes.
3 Gire el selector de control hasta que
aparezca “BTM” y, a continuación,
presiónelo.
La unidad almacena las emisoras en el orden
de frecuencia en los botones numéricos.
La unidad emite un pitido al almacenar el
ajuste.
Almacenamiento manual
1 Mientras recibe la emisora que desea
almacenar, mantenga presionado un
botón numérico (de (1) a (6)) hasta
que aparezca “MEMO”.
Nota
Si intenta almacenar otra emisora en el mismo botón
numérico, se reemplazará la que estaba almacenada
previamente.
Recepción de las emisoras
almacenadas
1 Seleccione la banda y, a continuación,
presione un botón numérico (de (1) a
(6)).
Sintonización automática
1 Seleccione la banda y, a continuación,
presione (SEEK) +/– para buscar la
emisora.
La búsqueda se detiene cuando la unidad
recibe una emisora. Repita este
procedimiento hasta recibir la emisora
deseada.
Sugerencia
Si conoce la frecuencia de la emisora que desea
escuchar, mantenga presionado (SEEK) +/ para
localizar la frecuencia aproximada y, a continuación,
presione (SEEK) +/ varias veces para ajustar la
frecuencia deseada con mayor precisión
(sintonización manual).
RDS
Descripción general
Las emisoras de radio FM que tienen el servicio
de Sistema de datos de radio (RDS) envían
información digital inaudible junto a la señal
habitual del programa de radio.
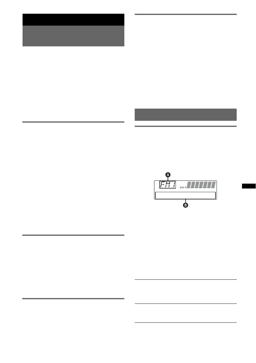
Elementos de la pantalla
A Banda de radio, función
B Nombre de servicio del programa, reloj,
frecuencia*, número de presintonía
* Mientras recibe la emisora RDS, aparece “ *” a la
izquierda de la indicación de la frecuencia.
Para cambiar los elementos de la pantalla
B
,
presione
(DSPL)
.
Servicios RDS
Esta unidad suministra automáticamente
servicios RDS como sigue:
PTY (Tipos de programa)
Muestra el tipo de programa que se recibe
actualmente. Asimismo, busca el tipo de
programa seleccionado.
CT (Hora del reloj)
Los datos CT de la transmisión RDS ajustan el
reloj.
continúa en la página siguiente t

Table of Contents

Other manuals for Sony CDX-GT700UI

Related product manuals