EasyManua.ls Logo

Sony DVP-NS300 Operating Instructions (CD/DVD Component) - Front Panel Display

Sony DVP-NS300 Operating Instructions (CD/DVD Component)
72 pages
Print Icon
To Next Page IconTo Next Page
To Next Page IconTo Next Page
To Previous Page IconTo Previous Page
To Previous Page IconTo Previous Page
Loading...
9
When playing back a DVD
When playing back a VIDEO CD (PBC)
When playing back a CD or VIDEO CD (without PBC)
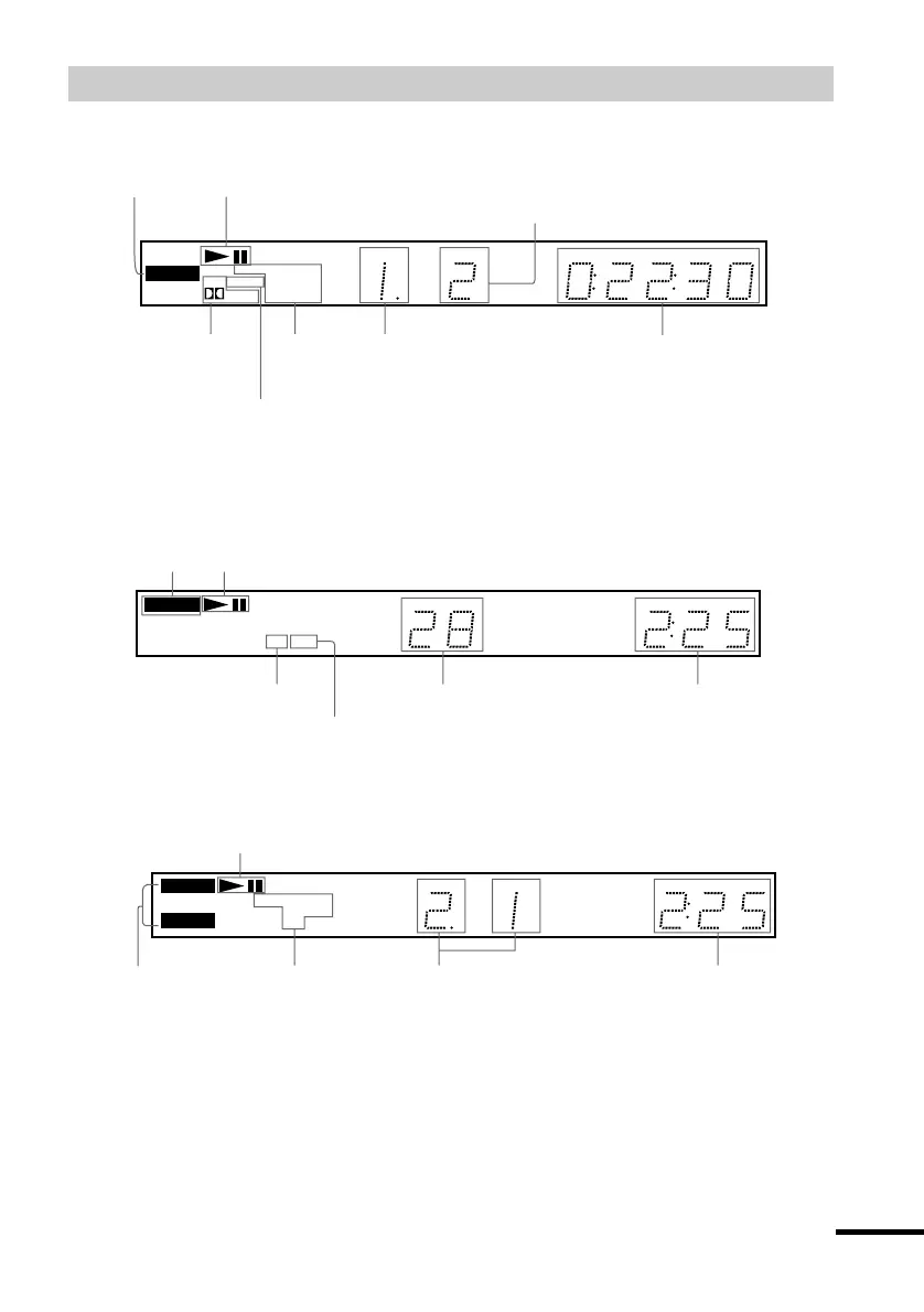
Front Panel Display
DVD
PGM SHUFFLE
TITLE CHAP HOUR MIN
SEC
DTS ANGLE REPEAT1
A-B
Digital
Playing time (39)
Disc type
Playing
status
Current chapter (39)
Current audio
signal (59)
Lights up when you can change
the angle (45)
Current play
mode (33)
Current title (39)
VIDEO CD
CD
PBC
MIN
SEC
A-B
Playing
status
Current play mode (33)
Disc type
Current scene (39)
Playing time (39)
Lights up when playing back a VIDEO CD with PBC (32)
VIDEO CD
CD
PGM SHUFFLE
TRACK INDEX MIN
SEC
REPEAT1
A-B
Playing time (39)
Disc type
Playing
status
Current track and
index (39)
Current play mode
(33)
continued

Table of Contents

Related product manuals