EasyManua.ls Logo

Sony ILCE-3000 - Page 12

Sony ILCE-3000
92 pages
Print Icon
To Next Page IconTo Next Page
To Next Page IconTo Next Page
To Previous Page IconTo Previous Page
To Previous Page IconTo Previous Page
Loading...
GB
12
Preparing the camera
x
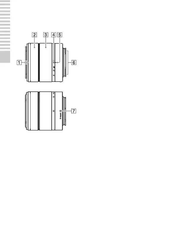
Lens
See page 85 on the specifications of the lens.
E 18 – 55 mm F3.5-5.6 OSS
A Hood index
B Focusing ring
C Zooming ring
D Focal-length scale
E Focal-length index
F Lens contacts
1)
G Mounting index
1)
Do not touch this part directly.

Table of Contents

Other manuals for Sony ILCE-3000

Related product manuals