EasyManua.ls Logo

Sony PRS-950 - Ornament (T) Assy

Sony PRS-950
20 pages
Print Icon
To Next Page IconTo Next Page
To Next Page IconTo Next Page
To Previous Page IconTo Previous Page
To Previous Page IconTo Previous Page
Loading...
PRS-950
7
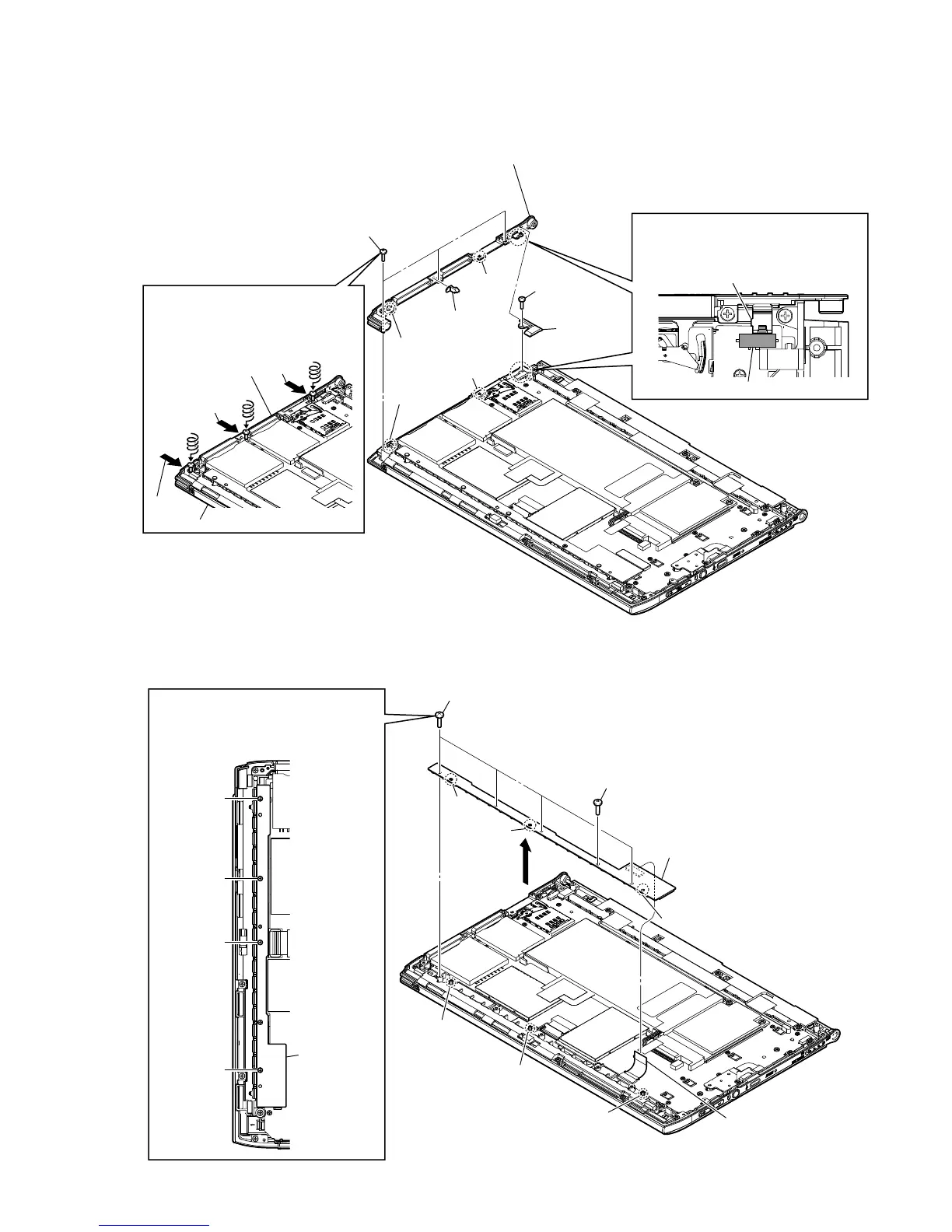
2-8. LED BOARD
2-7. ORNAMENT (T) ASSY
3
1 four shafts
(M1.4 u 2.5)
1
2 shaft
(M1.4 u 1.8)
4 FL5033 flexible board
(FPC1)
– Rear side view (bottom side) –
5 LED board
Note 1:
When
installing
LED board,
please match the position of
three bosses and three holes
respectively.
LED board
hole
hole
hole
boss
boss
boss
Note 2:
When installing four shafts, please
tighten in following numerical order.
Note 3:
Please tighten while suppressing the
LED board so that it should not bend.
2
3
4
4 three tapping screws
2 screw
1 light guide
MSSD
1 push
1 push
3 light guide
power
knob power
switch
– Rear side view (bottom side) –
two holes
hole
5 ornament (T) assy
Note 2:
When
installing
ornament (T) assy,
please match the position of three
bosses and three holes respectively.
ornament (T) assy
Note 1:
When installing the ornament (T) assy,
the position of switch and knob power
is set and installed.
boss
two bosses
main block
1 push
2
2
2
Note 3:
When installing three tapping
screws, please tighten after drawing
the ornamennt (T) assy to the main
block.

Other manuals for Sony PRS-950

Related product manuals