EasyManua.ls Logo

Sony SLV-ED225 - 1 General; Getting Started; Index to Parts and Controls

Sony SLV-ED225
66 pages
Print Icon
To Next Page IconTo Next Page
To Next Page IconTo Next Page
To Previous Page IconTo Previous Page
To Previous Page IconTo Previous Page
Loading...
1-1
4
Getting Started
Getting Started
Index to parts and controls
Refer to the pages indicated in parentheses ( ) for details.
Front panel
For SLV-ED929MI, ED925PS, ED828ME/SG and ED825PS
1 ?/1 ON/STANDBY switch
2 Remote sensor (11)
3 Tape compartment
4 A EJECT button (30)
5 H PLAY button*
1
(30) (48)
6 x STOP button*
1
(17) (30) (62)
7 z REC (record) button (33) (49)
(62)
8 X PAUSE button (30) (41) (62)
9 M FF (fast-forward) button (30)
(48)
q; m REW (rewind) button (30) (48)
qa EASY TIMER (36)
qs PROGRAM/TRACKING +/
buttons*
1
(37) (56)
qd LINE-2 IN VIDEO/AUDIO L/R
(left/right) jacks*
2
(60) (61)
*
1
The H PLAY, x STOP and PROGRAM/
TRACKING + buttons have a tactile dot.
*
2
not available on SLV-ED825PS
5
Getting Started
Getting Started
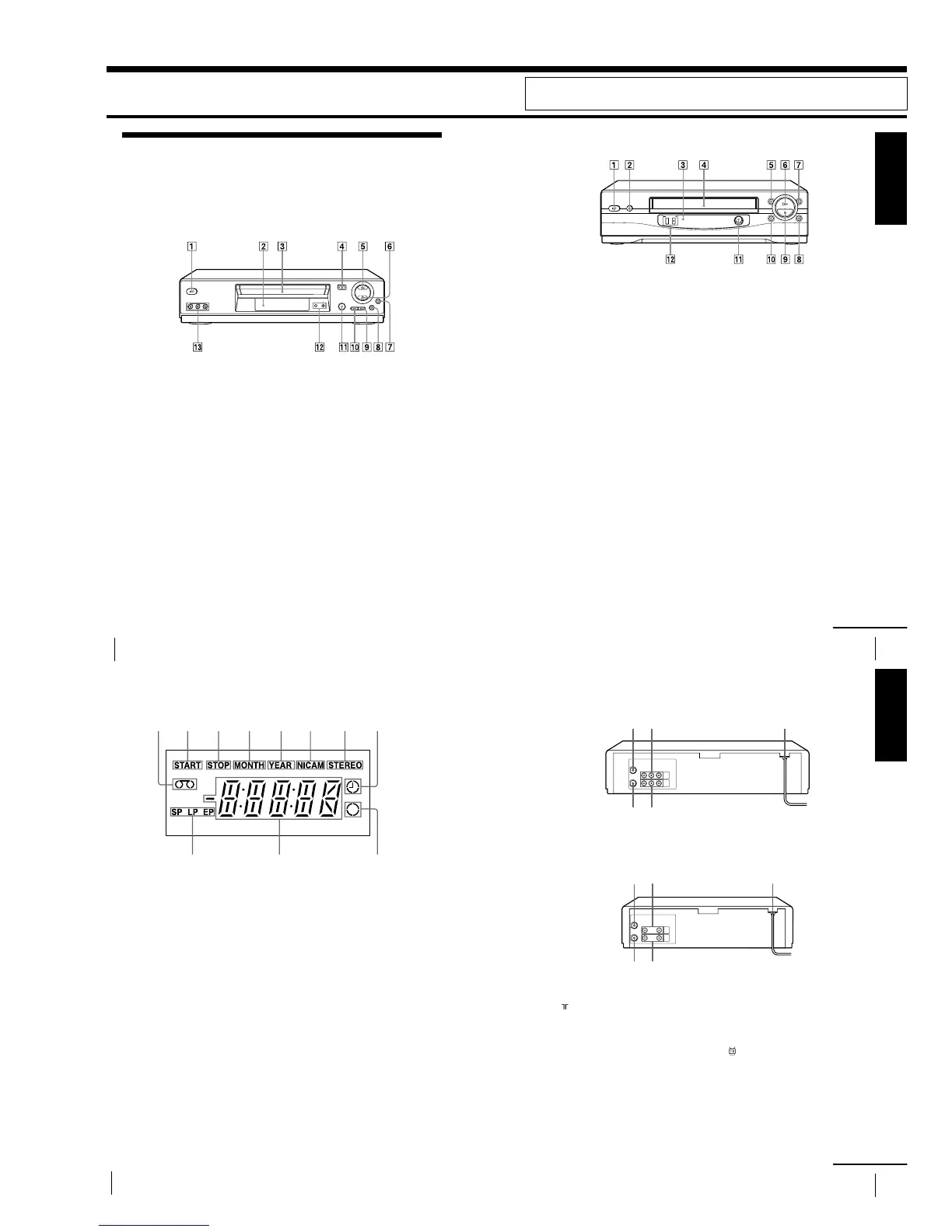
For SLV-ED323ME/SG and ED225PS
1 ?/1 ON/STANDBY switch
2 A EJECT button (30)
3 Remote sensor (11)
4 Tape compartment
5 m REW (rewind) button (30) (48)
6 H PLAY button (30) (48)
7 M FF (fast-forward) button (30)
(48)
8 z REC (record) button (33) (49)
(62)
9 x STOP button (17) (30) (62)
q; X PAUSE button (30) (41) (62)
qa EASY TIMER (36)
qs PROGRAM/TRACKING +/
buttons* (37) (56)
*The PROGRAM/TRACKING + button
has a tactile dot.
continued
6
Getting Started
Display window
1 Tape indicator
2 START indicator (37)
3 STOP indicator (37)
4 MONTH indicator (40)
5 YEAR indicator
6 NICAM indicator*
1
(53)
7 STEREO indicator*
2
(52)
8 Timer indicator (39) (43) (46)
9 Recording indicator (33)
q; Time counter/clock/line/programme
position indicator (31) (32) (62)
qa Tape speed indicators (32) (38)
*
1
SLV-ED929MI and ED925PS only
*
2
not available on SLV-ED323ME/SG and
ED225PS
31452678
90qa
Index to parts and controls (continued)
7
Getting Started
Getting Started
Rear panel
For SLV-ED929MI, ED925PS, ED828ME/SG and ED825PS
For SLV-ED323ME/SG and ED225PS
1 (in from antenna) connector (13)
2 LINE IN 1 AUDIO R/L/VIDEO
(audio right/audio left/video) jacks*
1
(61)
LINE IN 1 AUDIO/VIDEO jacks*
2
(60)
3 Mains lead (13)
4 LINE OUT AUDIO R/L/VIDEO
(audio right/audio left/video) jacks*
1
LINE OUT AUDIO/VIDEO jacks*
2
(14)
5 (out to tv) connector (13)
*
1
SLV-ED929MI, ED925PS, ED828ME/SG
and ED825PS only
*
2
SLV-ED323ME/SG and ED225PS only
continued
3
21
45
321
45
1. GENERAL
SLV-ED225/ED323/ED825/ED828/ED925/ED929/
EZ121/EZ424/EZ725/EZ727
This section is extracted from SLV-ED929MI/ED925PS/ED828ME/ED828SG/
ED825PS/ED323ME/ED323SG/ED225PS instruction manual. (3-073-156-11)

Table of Contents

Related product manuals