EasyManua.ls Logo

Sony TA-FA5ES - Electrical Adjustment Procedures; Bias Adjustment Procedure

Sony TA-FA5ES
30 pages
Print Icon
To Next Page IconTo Next Page
To Next Page IconTo Next Page
To Previous Page IconTo Previous Page
To Previous Page IconTo Previous Page
Loading...
SECTION
3
ELECTRICAL
ADJUSTMENT
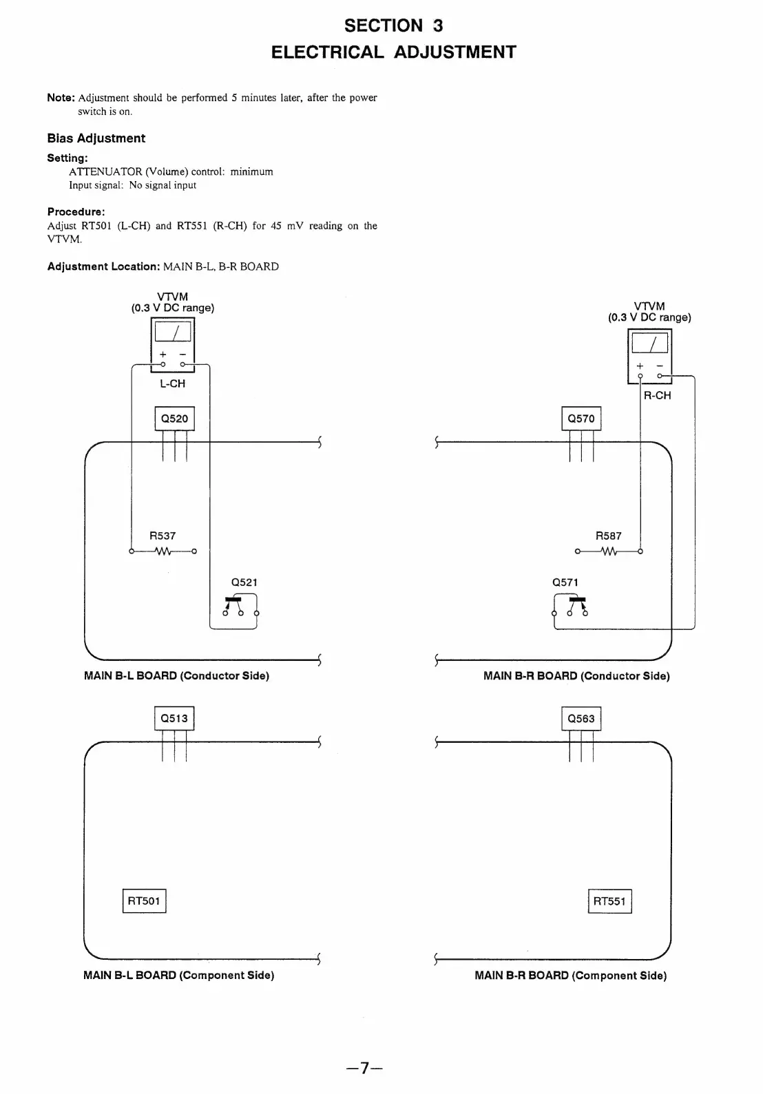
Note:
Adjustment
should
be
performed
5
minutes
later,
after
the
power
switch
is
on.
Bias
Adjustment
Setting:
ATTENUATOR
(Volume)
control:
minimum
Input
signal:
No
signal
input
Procedure:
Adjust
RT501
(L-CH)
and
RTS551
(R-CH)
for
45
mV
reading
on
the
VTVM.
Adjustment
Location:
MAIN
B-L,
B-R
BOARD
VTVM
(0.3
V
DC
range)
VTVM
(0.3
V
DC
range)
MAIN
B-L
BOARD
(Component
Side)
MAIN
B-R
BOARD
(Component
Side)

Related product manuals