EasyManua.ls Logo

Sony TC-730 - Acservo Circuit; Servo Amplifier Operation

Sony TC-730
75 pages
Print Icon
To Next Page IconTo Next Page
To Next Page IconTo Next Page
To Previous Page IconTo Previous Page
To Previous Page IconTo Previous Page
Loading...
FF,
STOP
REW
right
reel
motor
self-locking
{Turns
ON
when
contacts
of
\FWD
button
is
pushed,
RY602
S607
Turns
ON
when
FF
or
REW
button
is
pushed
RY602
FF
relay
Fig.
2.
Reel
motor
circuit
4.
AC
SERVO
CIRCUIT
The
Model
TC-730
employs
ac
servo
amplifier
circuit
and
keeps
tape
speed
constant.
4-1.
Principle
See
block
diagram
in
Fig.
3.
Motor
speed
determined
by
voltage
Em
can
be
changed
by
voltage
Er.
E
(fixed)
=
Em
+
Er
When
motor
speed
becomes
faster
or
slower
than
intended
speed
according
to
external
disturb-
ances,
the
intended
motor
speed
can
be
obtained
again
by
changing
voltage
Er,
or
by
changing
resistance
R.
The
frequency
generator
FG
in
the
motor
detects
motor
speed
deviation.
Servo
amplifier
changes
resistance
R
according
to
the
deviation.
TC-730
uses
impedance
R
between
collector
and
emitter
of
tran-
sistor
Q901
instead
of
resistance
R
as
shown
in
Fig.
4.
Impedance
R
can
be
changed
by
the
base
voltage.
The
motor
speed
can
be
kept
stable
by
controlling
the
base
voltage
for
the
motor
speed
deviation.
The
bridge
type
rectifier
comprising
four
diodes
makes
current
flow
through
transistor
Q901
in
the
direction
shown
by
the
arrow
in
Fig.
4.
Efconstant)
SERVO
AMP
Fig.
3.
Servo
control
system
block
diagram
SERVO
AMP
Fig.
4.
Q9017
instead
of
resistance
R
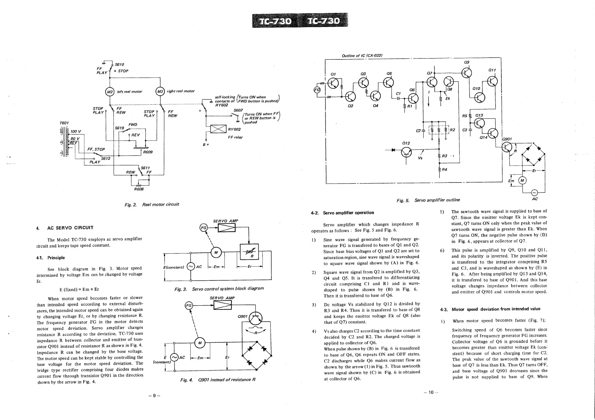
Outline
of
IC
(CX-032})
Q2
Fig.
5.
Servo
amplifier
outline
Ac
4-2.
Servo
amplifier
operation
Servo
amplifier
which
changes
impedance
R
operates
as
follows:
See
Fig.
5
and
Fig.
6.
1)
2)
3)
4)
Sine
wave
signal
generated
by
frequency
ge-
nerator
FG
is
transfered
to
bases
of
Q1
and
Q?2.
Since
base
bias
voltages
of
Q1
and
Q2
are
set
to
saturation
region,
sine
wave
signal
is
waveshaped
to
square
wave
signal
shown
by
(A)
in
Fig.
6.
Square
wave
signal
from
Q2
is
amplified
by
Q3,
Q4
and
QS.
It
is
transfered
to
differentiating
circuit
comprising
Cl
and
R1
and
is
wave-
shaped
to
pulse
shown
by
(B)
in
Fig.
6.
Then
it
is
transfered
to
base
of
Q6.
De
voltage
Vs
stabilized
by
Q12
is
divided
by
R3
and
R4.
Then
it
is
transfered
to
base
of
Q8
and
keeps
the
emitter
voltage
Ek
of
Q8
(also
that
of
Q7)
constant.
Vs
also
charges
C2
according
to
the
time
constant
decided
by
C2
and
R2.
The
charged
voltage
is
applied
to
collector
of
Q6.
When
pulse
shown
by
(B)
in
Fig.
6
is
transfered
to
base
of
Q6,
Q6
repeats
ON
and
OFF
states.
C2
discharges
while
Q6
makes
current
flow
as
shown
by
the
arrow
(1)
in
Fig.
5.
Thus
sawtooth
wave
signal
shown
by
(C)
in
Fig.
6
is
obtained
at
collector
of
Q6.
—10—
5)
6)
4-3.
1)
The
sawtooth
wave
signal
is
supplied
to
base
of
Q7.
Since
the
emitter
voltage
Ek
is
kept
con-
stant,
Q7
turns
ON
only
when
the
peak
value
of
sawtooth
wave
signal
is
greater
than
Ek.
When
Q7
turns
ON,
the
negative
pulse
shown
by
(D)
in
Fig.
6,
appears
at
collector
of
Q7.
This
pulse
is
amplified
by
Q9,
Q10
and
Q11,
and
its
polarity
is
inverted.
The
positive
pulse
is
transfered
to
the
integrator
comprising
R5
and
C3,
and
is
waveshaped
as
shown
by
(E)
in
Fig.
6.
After
being
amplified
by
Q13
and
Q14,
it
is
transfered
to
base
of
Q901.
And
this
base
voltage
changes
impedance
between
collector
and
emitter
of
Q901
and
controls
motor
speed.
Motor
speed
deviation
from
intended
value
When
motor
speed
becomes
faster
(Fig.
7);
Switching
speed
of
Q6é
becomes
faster
since
frequency
of
frequency
generator
FG
increases.
Collector
voltage
of
Q6
is
grounded
before
it
becomes
greater
than
emitter
voltage
Ek
(con-
stant)
because
of
short
charging
time
for
C2.
The
peak
value
of
the
sawtooth
wave
signal
at
base
of
Q7
is
less
than
Ek.
Thus
Q7
turns
OFF,
and
base
voltage
of
Q901
decreases
since
the
pulse
is
not
supplied
to
base
of
Q9.
When

Related product manuals