EasyManua.ls Logo

Sony Trinitron KV-27XBR51 - RM-Y106 Exploded View

Sony Trinitron KV-27XBR51
81 pages
Print Icon
To Next Page IconTo Next Page
To Next Page IconTo Next Page
To Previous Page IconTo Previous Page
To Previous Page IconTo Previous Page
Loading...
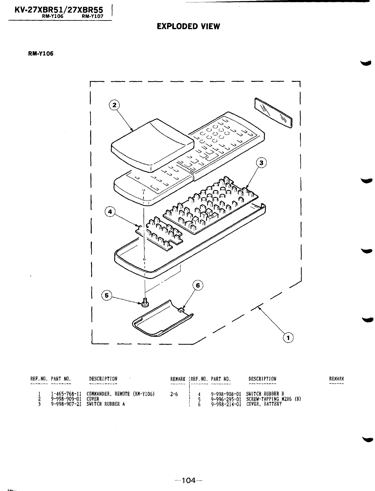
KV-27XBR51/27XBR55
RM·Y106
RM·Yl07
RM·Y106
REF.NO.
PART
NO.
------- --------
I
I-465-768-II
2
9-998-909-01
3
9-998-907-21
r--
1
I
I
I
I
I
I
DESCRIPTION
-----------
COMMANDER,
REMOTE
(RM-Yl06)
COVER
SWITCH
RUBBER
A
EXPLODED VIEW
-
--
-,
REMARK
lREF.NO.
PART
NO.
DESCRIPTION
REMARK
------
1-------
--------
-----------
I
2-6
I
4
9-998-908-01
SWITCH
RUBBER
B
I
I
5
9-996-295-01
SCREW-TAPPING
M2X6
(B)
I
I
6
9-998-214-01
COVER,
BATTERY
I
-104-

Related product manuals