EasyManua.ls Logo

Sony UWP-X5 - Diversity-Tunermodul (URX-M1); Headset-Mikrofon (Mitgeliefert)

Sony UWP-X5
135 pages
Print Icon
To Next Page IconTo Next Page
To Next Page IconTo Next Page
To Previous Page IconTo Previous Page
To Previous Page IconTo Previous Page
Loading...
67
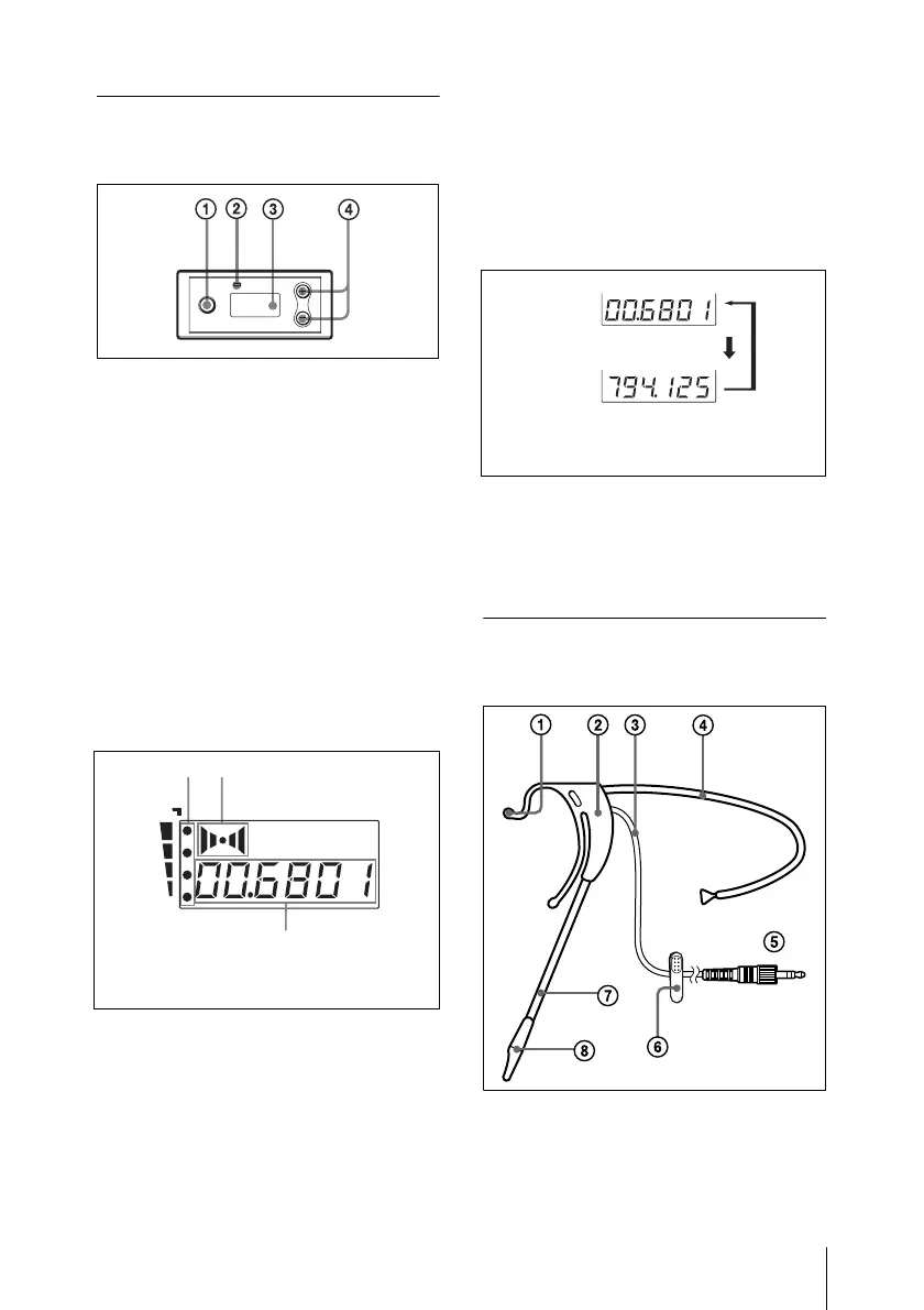
Teilebezeichnung
Diversity-Tunermodul
(URX-M1)
a SET-Taste
Zur Änderung der Anzeigeparameter.
Einzelheiten siehe „Einstellungen“ auf Seite 74.
b RF-Anzeige (Hochfrequenz)
Die Farbe kennzeichnet die Stärke des
Hf-Eingangssignals.
Ein in Grün: Der Hf-Eingangspegel
beträgt mindestens 25 dBµ
*.
Aus: Der Hf-Eingangspegel liegt unter 25
dBµ
*
.
* 0 dBµ = 1 µV
EMF
c LCD-Display
A RF-Anzeige (Hochfrequenz)
Die Zahl der Punkte gibt die Höhe des Hf-
Eingangspegels an.
B AF-Anzeige (Audiofrequenz)
Erscheint, sobald das Audioausgangssignal
stärker als der Bezugspegel ist.
C GP/CH-Anzeige (Gruppe/Kanal)
Zeigt die Empfangskanalgruppe und
Kanalnummer an. Bei jedem Drücken der
SET-Taste wechselt die Kanalanzeige
zyklisch wie folgt.
Einzelheiten siehe„Einstellungen“ auf Seite 74.
d Tasten + (Vorwärtswahl)/
(Rückwärtswahl/Rücksetzen)
Diese Tasten dienen zur Einstellung von
Empfangskanal und -frequenz.
Headset-Mikrofon
(mitgeliefert)
AF
RF
CH
A
B
C
Die Kanalanzeige (C) für das Modell
U66 werden gezeigt.
Empfangska-
nalgruppe und
Kanalnummer
Empfangs-
frequenz
Die Kanal-/Frequenzanzeigen für das
Modell U66 werden gezeigt.
SET-
Taste
drücken

Table of Contents

Related product manuals