EasyManua.ls Logo

Sony VPL-FX51 - Page 46

Sony VPL-FX51
130 pages
Print Icon
To Next Page IconTo Next Page
To Next Page IconTo Next Page
To Previous Page IconTo Previous Page
To Previous Page IconTo Previous Page
Loading...
4-10
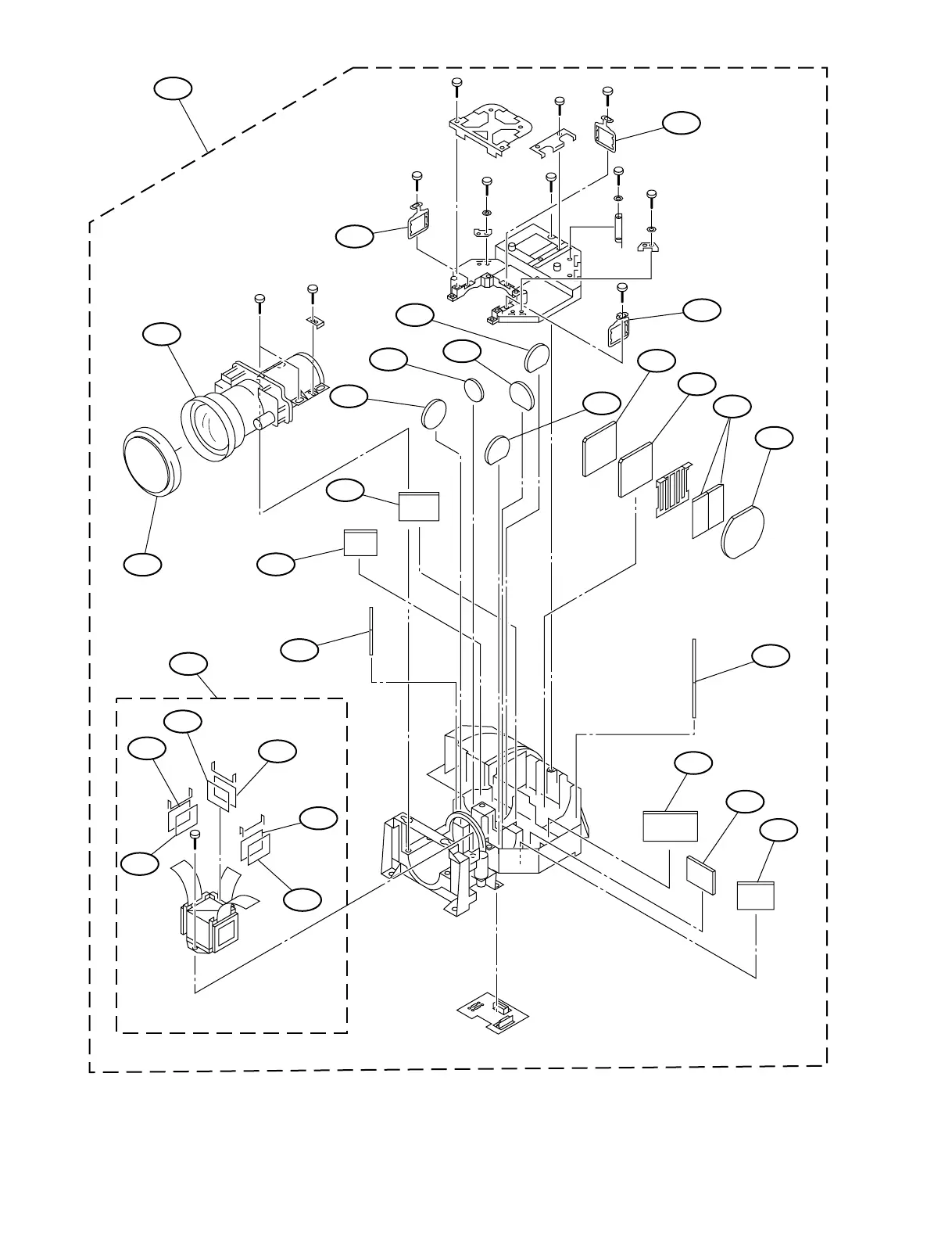
VPL-FX51
Optical Unit
401
402
403
406
428
416
422
419
420
421
417
418
408
410
426
425
424
423
414
413
412
411
415
409
427
405
404
429
407

Related product manuals