EasyManua.ls Logo

Sorma BSS-134 - Page 9

Sorma BSS-134
81 pages
Print Icon
To Next Page IconTo Next Page
To Next Page IconTo Next Page
To Previous Page IconTo Previous Page
To Previous Page IconTo Previous Page
Loading...
8
TECHNICAL SPECIFICATIONS
BSS-134
CHAP.- 2
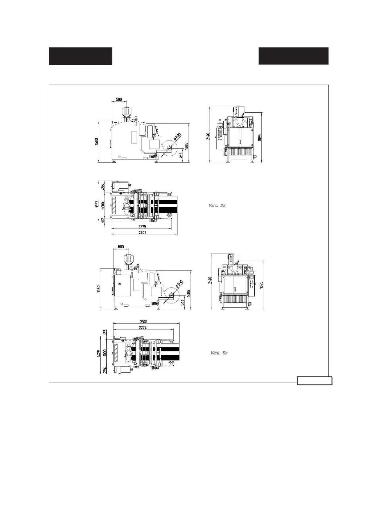
2.7 Overall dimensions
Fig.2 chap.2