EasyManua.ls Logo

SPX DSV - Page 13

SPX DSV
45 pages
Print Icon
To Next Page IconTo Next Page
To Next Page IconTo Next Page
To Previous Page IconTo Previous Page
To Previous Page IconTo Previous Page
Loading...
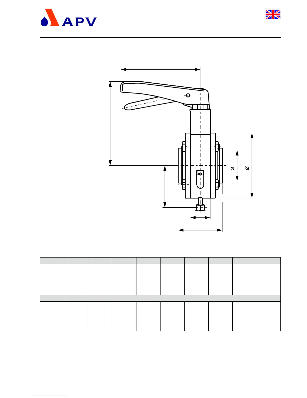
8
Double Seal Butterfly Valve
DSV
Operating manual: rev. 2
D
C
B
E
F
A
L
DN
F
86
86
89
89
101
165
165
165
178
285
dimensions in mm
L weights in kg
B
Ø C
A
inch
2”
2,5”
3”
4”
84
95
105
115
125
EØ D
148
158
167
178
214
47,8
60,5
72,1
97,6
86
86
89
89
165
165
165
178
108
130
146
166
84
95
105
115
38
38
41
41
148
158
167
178
50
65
80
100
125
108
130
146
166
205
50
66
81
100
125
38
38
41
41
53
UK
6. Dimensions / Weights
DSV-UK2.qxp / 10.2005
www.sks-online.com
www.sks-webshop.com

Related product manuals