EasyManua.ls Logo

Stihl MH 445.1 - Page 314

Stihl MH 445.1
470 pages
To Next Page IconTo Next Page
To Next Page IconTo Next Page
To Previous Page IconTo Previous Page
To Previous Page IconTo Previous Page
Loading...
0478 403 9806 B - HR
312
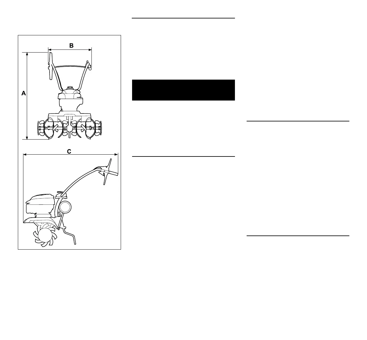
MH 445.1, MH 445.1 R, MH 560.0,
MH 585.0, MH 685.0:
MH 445.1, MH 445.1 R:
A =118 cm
B =57 cm
C =122 cm
MH 560.0, MH 585.0, MH 685.0:
A =119 cm
B =57 cm
C =122 cm
18.1 REACH
REACH označava uredbu EU o
registraciji, evaluaciji i autorizaciji
kemikalija.
Informacije o ispunjavanju REACH uredbe
(EZ) br. 1907/2006 navedene su na
stranici www.stihl.com/reach
Smetnja:
Motor s unutarnjim izgaranjem se ne
pokreće.
Mogući uzrok:
Poluga za namještanje gasa u položaju
zaustavljanja
Nema goriva u spremniku; vod goriva
začepljen
Loše, onečćeno ili staro gorivo u
spremniku
–Utikač svjećice svučen sa svjećice;
kabel za paljenje loše pričvršćen na
utikaču
–Svjećica začađena ili oštećena;
pogrešan razmak elektroda
–Zračni filtar je prljav
Motor s unutarnjim izgaranjem je
„zagušen“ zbog više pokušaja
pokretanja
Pomoć:
Polugu podešavanja gasa staviti u
startni položaj (Ö 8.1)
Punjenje goriva (Ö 7.15);
Očistite vodove goriva (#)
Upotrijebite svježe gorivo priznate
marke (bezolovni benzin) (Ö 7.15);
Očistite rasplinjač (#)
Nataknite utikač svjećice ();
Provjerite spoj između kabela paljenja i
utikača (#)
–Očistite/zamijenite svjećicu (), (#);
Namjestite razmak elektroda (#)
–Očistite/zamijenite zračni filtar (#)
–Odvijte svjećicu i osušite je, gurnite
ručicu gasa u zaustavni položaj i
potegnite pokretačko uže više puta dok
je svjećica izvučena ()
Smetnja:
Otežano pokretanje ili slabljenje snage
motora s unutarnjim izgaranjem
Mogući uzrok:
Voda u spremniku za gorivo ili u
rasplinjaču; rasplinjač je začepljen
Spremnik za gorivo je prljav
–Zračni filtar je prljav
–Svjećica je začađena
Pomoć:
Ispraznite spremnik za gorivo, očistite
vod goriva i rasplinjač (#)
–Očistite spremnik za gorivo (#)
–Očistite/zamijenite zračni filtar (), (#)
–Očistite/zamijenite svjećicu (), (#)
Smetnja:
Motor s unutarnjim izgaranjem previše se
zagrijava
Mogući uzrok:
–Onečćena rashladna rebra.
Preniska razina ulja u motoru s
unutarnjim izgaranjem
19. Traženje pogrešaka
# Eventualno potražite ovlaštenog
trgovca, STIHL preporučuje
ovlaštenog STIHL trgovca.
@ Razina motornog ulja (vidi upute za
uporabu motora s unutarnjim
izgaranjem).

Table of Contents

Related product manuals