EasyManua.ls Logo

Storm ST17145 - Page 46

Default Icon
Print Icon
To Next Page IconTo Next Page
To Next Page IconTo Next Page
To Previous Page IconTo Previous Page
To Previous Page IconTo Previous Page
Loading...
'XFWHGLQGRRUXQLWIRU0XOWLVSOLW5,QYHUWHU
9
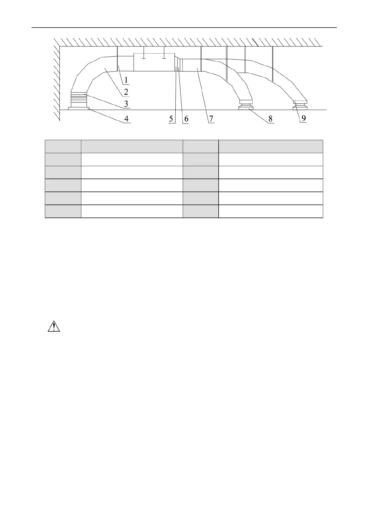
Fig.8
No.
Name
No.
Name
1 Hanger 6 Transition Duct
2 Return Air Duct 7 Air Supply Duct
3 Canvas Duct 8 Diffuser
4 Return Air Louver 9 Diffuser Joint
5 Air Supply Outlet
Table 3
c.Installation Steps of the Round Air Supply Duct
1) Preinstall the outlet of the round duct on the transition duct and then fix it by the
self-tapping screw.
2) Place the transition duct to the air outlet of the unit and fix it with rivet.
3) Connect the outlet to the duct and then tighten them with tape. Other installation
details are not covered herein.
CUATION
ʽ
ʽ
ķ
.The maximum length of the duct means the maximum length of the air supply
duct plus the maximum length of the return air duct.
ĸ
.For the unit with the auxiliary electric heating function, if the round duct is to be
adopted, then the straight length of the transition duct can not be less than 200mm.
Ĺ
.The duct is either rectangular or round and connected with the air inlet/outlet of
the indoor unit. Among all air supply outlets, at least one should be kept open. As for
the round duct, it needs a transition duct of which the size should match with the air
supply outlet of the unit. After the fitting of the transition duct, it is the turn of the round
duct, which is better to be kept 10 meters far away from the corresponding diffuser. The
standard accessories supplied by GREE is the transition duct 200mm long and round
air outlet φ200, however, those of other specifications can be purchased.

Table of Contents

Related product manuals