EasyManua.ls Logo

Strobel 141-23 - Page 14

Strobel 141-23
40 pages
Print Icon
To Next Page IconTo Next Page
To Next Page IconTo Next Page
To Previous Page IconTo Previous Page
To Previous Page IconTo Previous Page
Loading...
STROBEL
All rust protection agents, such
as
Vaseline and similar agents have
to
be
wiped
off
carefully from the sewing tools before putting
the
machine into
service.
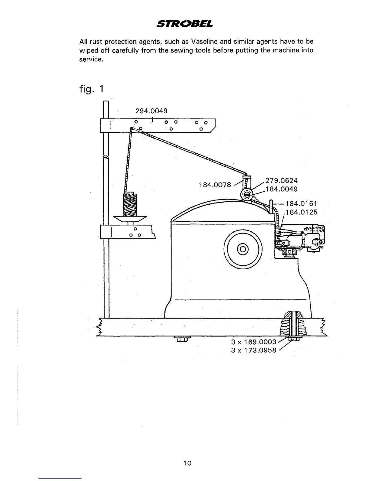
fig. 1
294.0049
0 0 0 0
0 0
10
279.0624
184.0049
3 X
169.0003
3 X
173.0958
184.0161
184.0125
From the library of: Superior Sewing Machine & Supply LLC

Related product manuals