EasyManua.ls Logo

Subaru 2003 Impreza - 3-4; 3-2; Turn Signal Indicator Lights; (For at Vehicles - if Equipped)

Subaru 2003 Impreza
418 pages
Print Icon
To Next Page IconTo Next Page
To Next Page IconTo Next Page
To Previous Page IconTo Previous Page
To Previous Page IconTo Previous Page
Loading...
IMPREZA(NA) A1850BE-A (ENGLISH)
3
Instruments and controls
3-15
CONTINUED
Always make sure this light is out before you start to
drive.
J Front-wheel drive warning light
(for AT vehicles if equipped)
This light comes on when All Wheel Drive is disen-
gaged and the drive mechanism is switched to Front
Wheel Drive for maintenance or similar purposes.
J Shift position indicator (AT vehicles)
This indicator shows the position of the shift lever.
J Turn signal indicator lights
These lights show the operation of the turn signal or
lane change signal.
If the indicator lights do not blink or blink rapidly, the
turn signal bulb may be burned out. Replace the
bulb as soon as possible. Refer to the Replacing
bulbs section in chapter 11.
J High beam indicator light
This light shows that the headlights are in the high
beam mode.
This indicator light also comes on when the head-
light flasher is operated.
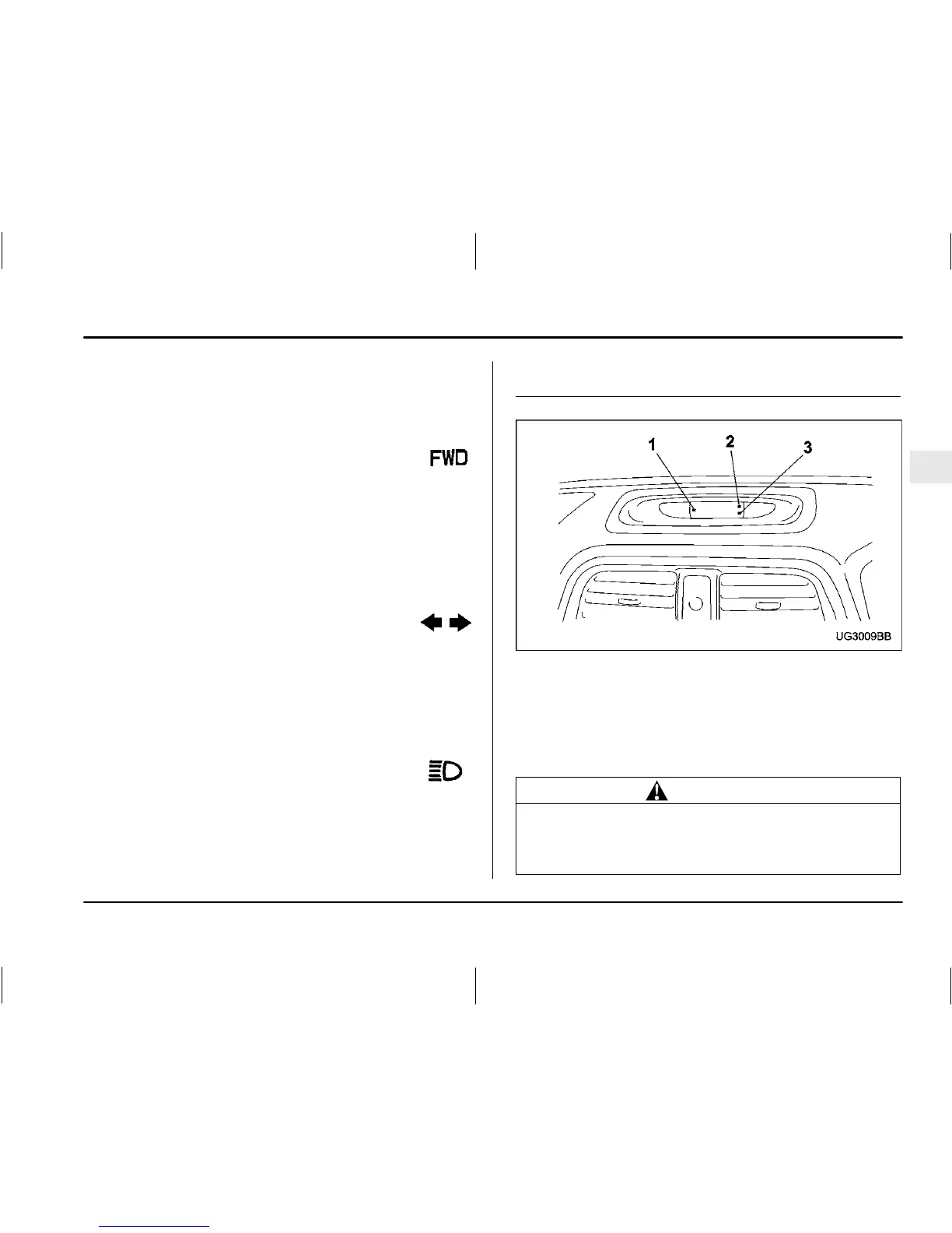
Clock
1) S button
2) H button
3) M button
To set the hour, press the H button. To set the min-
utes, press the M button. To reset the minutes the
00 with a radio time signal, push the S button.
CAUTION
To ensure safety, do not attempt to set the
time while driving, as an accident from inade-
quate attention to the road could result.

Table of Contents

Related product manuals