EasyManua.ls Logo

SVS SB-4000 - Connecting & Controlling Your Subwoofer

SVS SB-4000
28 pages
Print Icon
To Next Page IconTo Next Page
To Next Page IconTo Next Page
To Previous Page IconTo Previous Page
To Previous Page IconTo Previous Page
Loading...
SB-4000
SUBWOOFER
The SVS SB-4000 is designed for easy set-up and integration in both multi-channel home theater
and two-channel (stereo) systems. It is best to familiarize yourself with the subwoofer connec-
tions and the rear panel of your AV receiver or preamplier before setting your subwoofer up. Be
sure your SB-4000 is switched to O before plugging it in or connecting to your AV receiver.
It’s also best to use cables with secure connections for optimal bass performance.
In addition to the IR Remote Control and front panel control interface, we’ve developed the
convenient SVS mobile app for both Apple® iOS® and Google Android™ that allows you to make
adjustments for room layout, personal preferences, movies vs. music, and more. It’s the best way
to ne tune your subwoofer for perfect performance from the comfort of your favorite seat.
A full explanation of all the advanced subwoofer DSP controls is available on pages 15-18 in this
owner’s manual, as well as in the SVS subwoofer app tutorial. The following sections cover basic
connections and control settings when integrating the SB-4000 into a surround sound or two
channel system.
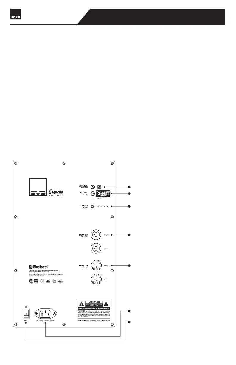
BACK PANEL FEATURES
AC POWER CORD RECEPTACLE
ON/OFF SWITCH
UNBALANCED (RCA) LINE LEVEL INPUTS
3V-12V TRIGGER INPUT
UNBALANCED (RCA) LINE LEVEL OUTPUTS
BALANCED (XLR) LINE LEVEL INPUTS
BALANCED (XLR) LINE LEVEL OUTPUTS
CONNECTING & CONTROLLING YOUR SUBWOOFER
page 6 | owner’s manual

Other manuals for SVS SB-4000

Related product manuals