EasyManua.ls Logo

Sym 2009 FIDDLE II 125 - Checking for Fuel Leakage; Checking the Lubrication of Bodys Various Mechanisms; Checking the Spark Plug; Checking the Air Cleaner

Sym 2009 FIDDLE II 125
25 pages
Print Icon
To Next Page IconTo Next Page
To Next Page IconTo Next Page
To Previous Page IconTo Previous Page
To Previous Page IconTo Previous Page
Loading...
20
§CHECKING FOR FUEL LEAKAGE§
y Check fuel tank, fuel cup, fuel hose, carburetor for leakage.
§CHECKING THE LUBRICATION OF BODY’S VARIOUS MECHANISMS§
y Check the body’s pivot points if they have enough lubrication.
(for example, the pivot points on the main stand, the side stand, and the brake leveretc.).
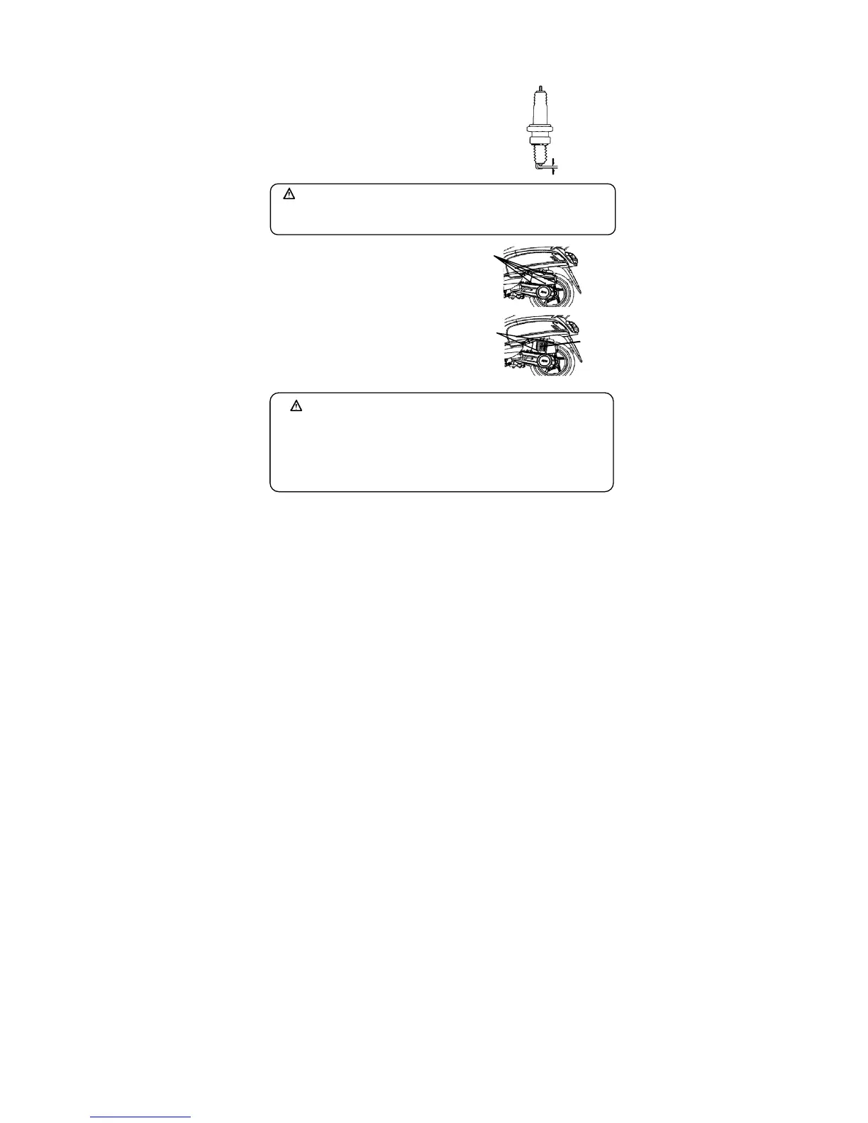
§CHECKING THE SPARK PLUG§
y Remove the cap of spark plug cable (remove the spark plug using
the spark plug wrench in the tool kit.
y Check the electrode if it is dirty or fouled by carbon deposits.
y Remove the carbon deposits on the electrode with steel wire, and
clean the spark plug with gasoline, then, wipe dry with a rag.
y Check the electrode, and adjust its gap to 0.6~0.7 mm. (Check it
with a feeler gauge)
y Hand tight the spark plug as far as it can go and then tighten it
another 1/2~3/4 turns with a wrench.
§CHECKING THE AIR CLEANER §
DISASSEMBLE PRCEDURE
1. Remove tapping screws from air cleaner cover.
2.Remove the air cleaner cover, remove the element
screws , then remove filter element.
3.Take the element out and clean it. (Refer to
maintenance schedule.)
DISASSEMBLE PRCEDURE
y Assemble the air cleaner in reverse order of disassemble.
CAUTION:
y Dust deposit is one of the major causes of reducing output horsepower and increasing fuel
consumption.
y Change the air cleaner element more frequently to prolong the engine’s service life if the
motorcycle is driven on dusty roads very often.
y If air cleaner is installed improperly, dust will be absorbed into cylinders, which may cause a
premature wear and reducing output power and engine life.
y Be careful not to soak the air cleaner when washing the motorcycle. Otherwise, it will cause
engine hard to start.
WARNING:
The engine is very hot after running. Pay attention not to get burned.
Use only spark plugs suitable for the engine specifications of this motorcycle recommended by
the manufacturer.
(
Refer to s
p
ecifications.
)
0.6~0.7 mm
Element
Screws
Screws

Related product manuals