EasyManua.ls Logo

Tascam 38 - Amplifier Circuit Diagram

Tascam 38
99 pages
Print Icon
To Next Page IconTo Next Page
To Next Page IconTo Next Page
To Previous Page IconTo Previous Page
To Previous Page IconTo Previous Page
Loading...

Table of Contents

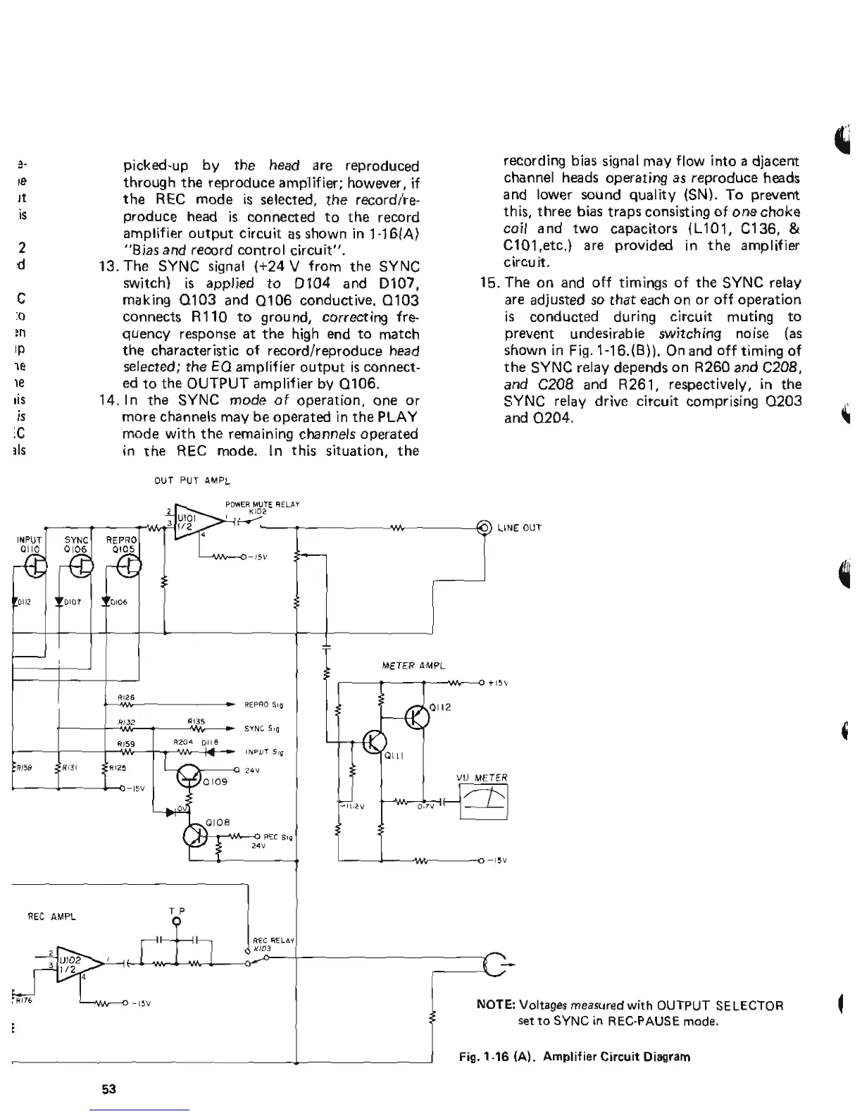
Related product manuals