EasyManua.ls Logo

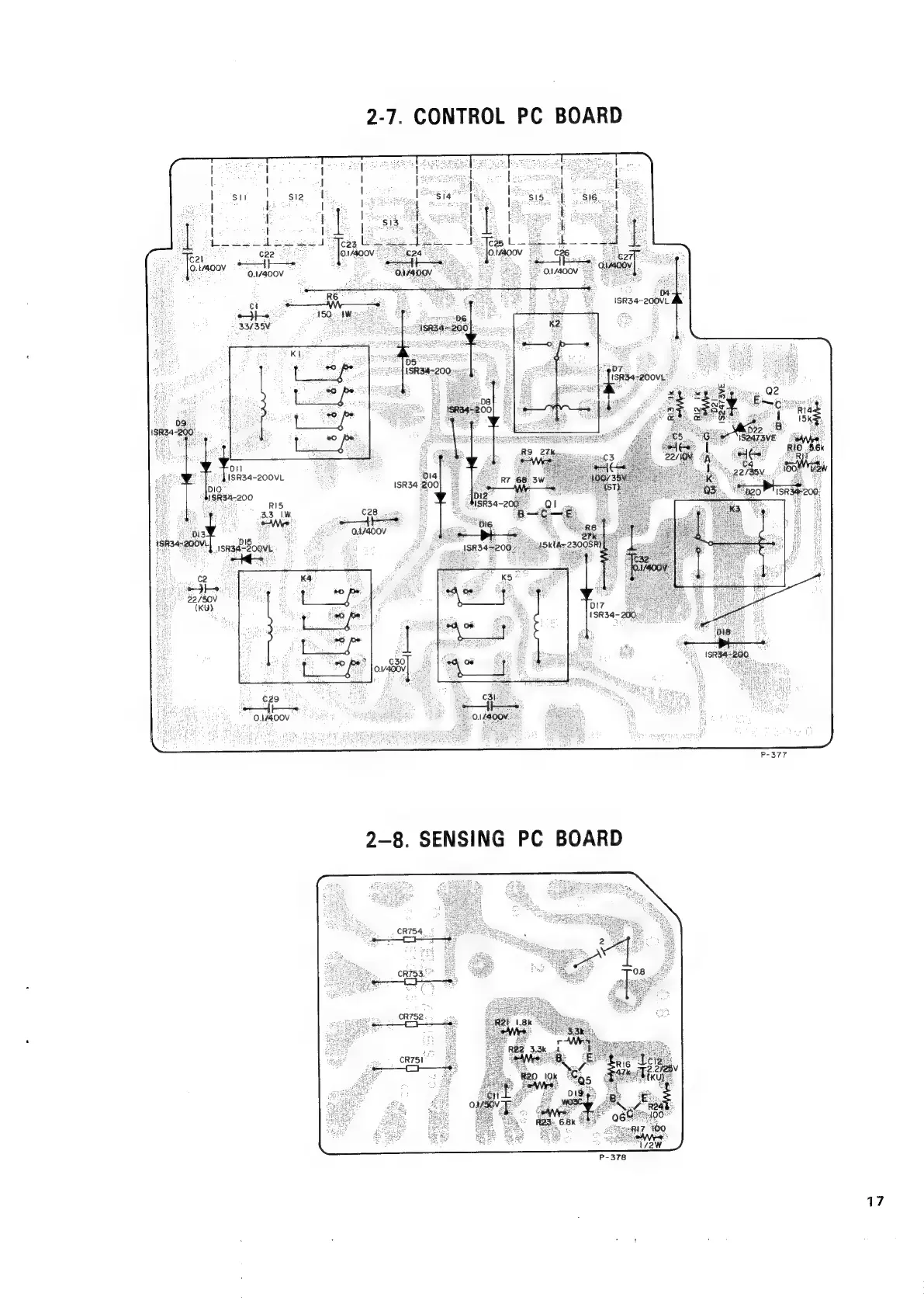
Teac A-2300SR - PC Board Section Diagrams (Continued); CONTROL PC Board Diagram; SENSING PC Board Diagram

Teac A-2300SR
58 pages
Print Icon
To Next Page IconTo Next Page
To Next Page IconTo Next Page
To Previous Page IconTo Previous Page
To Previous Page IconTo Previous Page
Loading...
jOVL.|
33/38
Is34~Z00VL
egg
fe!
=
bee
0.1/400V
2-7.
CONTROL
PC
BOARD
17

Related product manuals