EasyManua.ls Logo

Teac PD-D2610 - Raccordements

Teac PD-D2610
40 pages
Print Icon
To Next Page IconTo Next Page
To Next Page IconTo Next Page
To Previous Page IconTo Previous Page
To Previous Page IconTo Previous Page
Loading...
20
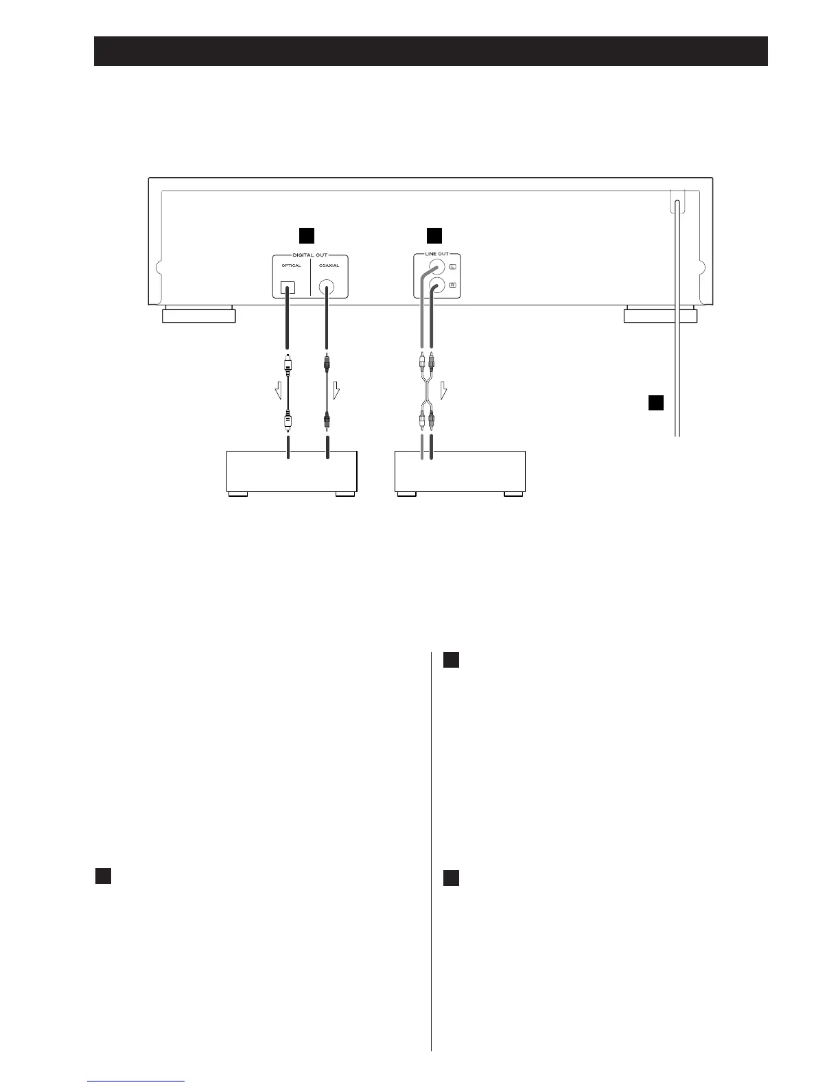
Raccordements
PRÉCAUTION:
< Coupez l’alimentation de tous les appareils avant d’effectuer
les raccordements.
< Lisez les instructions qui accompagnent chaque appareil que
vous avez l’intention d’utiliser en association avec cet
appareil-ci.
< Veillez à ce que chaque fiche soit soigneusement insérée.
Pour éviter les ronflements et les bruits parasites, évitez
d’attacher les câbles d’interconnexion parcourus par les
signaux avec le cordon d’alimentation secteur ou les câbles
de liaison aux enceintes.
Sortie DIGITAL OUT
Raccordez la sortie numérique à l’entrée numérique d’un
appareil tel que enregistreur CD, platine MD, etc. Utilisez un
câble optique ou coaxiale numérique du commerce.
< Conservez le capuchon fourni pour couvrir le connecteur
quand il n’est pas utilisé.
A
PD-D2610
CD INDIGITAL
IN
RCOAXIALOPTICAL L
C
A B
AmplificateurAppareil audio numérique
(enregistreur CD, etc.)
Prise LINE OUT
Un signal analogique 2 canaux est disponible sur cette prise.
Raccordez-la à la prise d’entrée CD de l’amplificateur avec
un câble RCA.
Veillez à brancher:
la fiche blanche
q la prise blanche (L: voie gauche)
la fiche rouge
q la prise rouge (R: voie droite)
Cordon Secteur
Après avoir terminé toutes les autres connexions, branchez
le câble dans une prise secteur.
Assurez-vous de raccorder le câble à une prise qui délivre
une tension correcte.
Tenez la prise lorsque vous branchez ou débranchez le câble
secteur.
C
B

Other manuals for Teac PD-D2610

Related product manuals