EasyManua.ls Logo

Teac SR-2DAB - Identifying the Parts (Remote Control Unit)

Teac SR-2DAB
32 pages
Print Icon
To Next Page IconTo Next Page
To Next Page IconTo Next Page
To Previous Page IconTo Previous Page
To Previous Page IconTo Previous Page
Loading...
9
N
F
A
O
L
M
R
G
B
H
K
J
E
P
Q
I
D
C
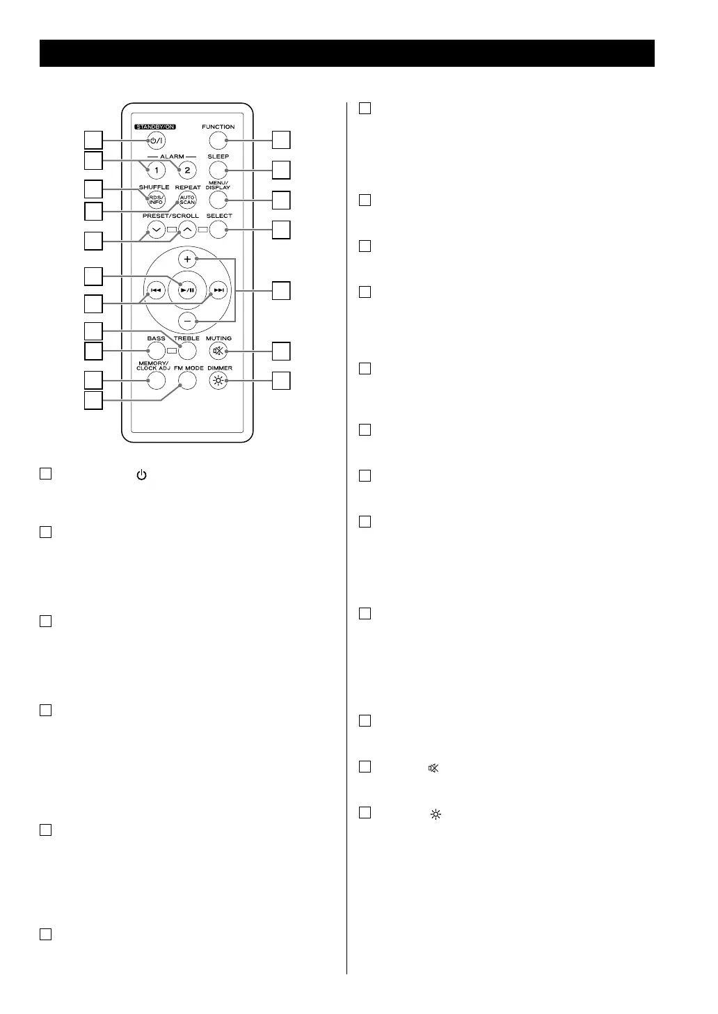
Identifying the Parts (Remote Control Unit)
A
STANDBY/ON (
)
Use this button to turn the unit on or put it into
standby.
B
ALARM 1, ALARM 2
Hold down these buttons for more than 2 seconds to
enter the timer setting mode.
These buttons are also used to turn the timer function
on and off.
C
SHUFFLE/RDS/INFO
In iPod mode, use this button to start shuffle playback.
In FM mode, use this button to select an RDS mode.
In DAB mode, use this button to choose the type of
information displayed.
D
REPEAT/AUTO SCAN
In iPod mode, use this button to set the repeat function.
In DAB mode, press this button to automatically locate
all available DAB services. Press once for UK services, or
hold for longer than 2 seconds to activate international
search.
In FM mode, use this button to start automatic tuning.
E
PRESET/SCROLL (
/
°
)
In iPod mode, use these buttons to scroll up and down
in a menu. These buttons have the same functions as
the Click Wheel of an iPod.
In TUNER mode, use these buttons to select a preset
station.
F
Play/Pause (
y
/J
)
In iPod mode, use this button to start or pause
playback.
G
Skip/Search (
.//
)
In iPod mode, use these buttons to skip to songs. Hold
down these buttons to search for a part of a song.
In DAB mode, use these buttons to select a station.
In FM mode, use this button to tune in a station.
H
TREBLE
Use this button to start treble level adjustment.
I
BASS
Use this button to start bass level adjustment.
J
MEMORY/CLOCK ADJ
In TUNER mode, use this button to store preset channels
into memory.
Use this button also to adjust the clock.
K
FM MODE
In FM mode, use this button to select stereo or
monaural.
L
FUNCTION
Use this button to select the source you want to listen to.
M
SLEEP
Use this button to set the sleep timer.
N
MENU/DISPLAY
In iPod mode, use this button to go back to the previous
menu. This button has the same functions as its iPod
counterpart.
In DAB mode, use this button to access various features.
O
SELECT
In iPod mode, use this button to confirm a selection in a
menu. This button has the same functions as the Center
button of the Click Wheel of iPod.
In DAB mode, use this button to confirm selection in
menus.
P
VOLUME (–/+)
Press the + and – buttons to adjust the volume level.
Q
MUTING (
)
Use this button to mute the sound.
R
DIMMER (
)
Use this button to change the brightness of the front
panel display and buttons.
Note:
To simplify explanations, instructions in this manual usually
only refer to the names of the buttons and controls on
the front panel. Associated controls on the remote control
operate similarly.

Related product manuals