EasyManua.ls Logo

Teac X-10R - Exploded View-4 and Parts List

Teac X-10R
66 pages
Print Icon
To Next Page IconTo Next Page
To Next Page IconTo Next Page
To Previous Page IconTo Previous Page
To Previous Page IconTo Previous Page
Loading...
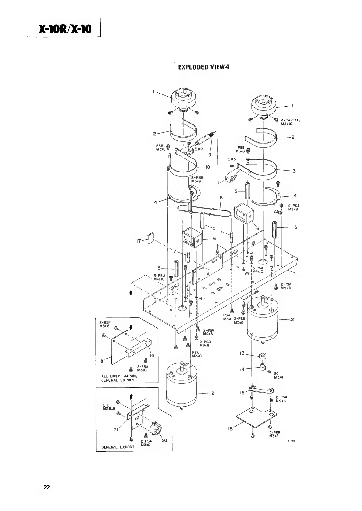
X-10R/X-10
|
EXPLODED
VIEW-4
2-PSA
M3x6
ALL
EXCEPT
JAPAN,
GENERAL
EXPORT
2-PsaA
Ss
20
GENERAL
ExPoRT
5x6
22

Related product manuals