EasyManua.ls Logo

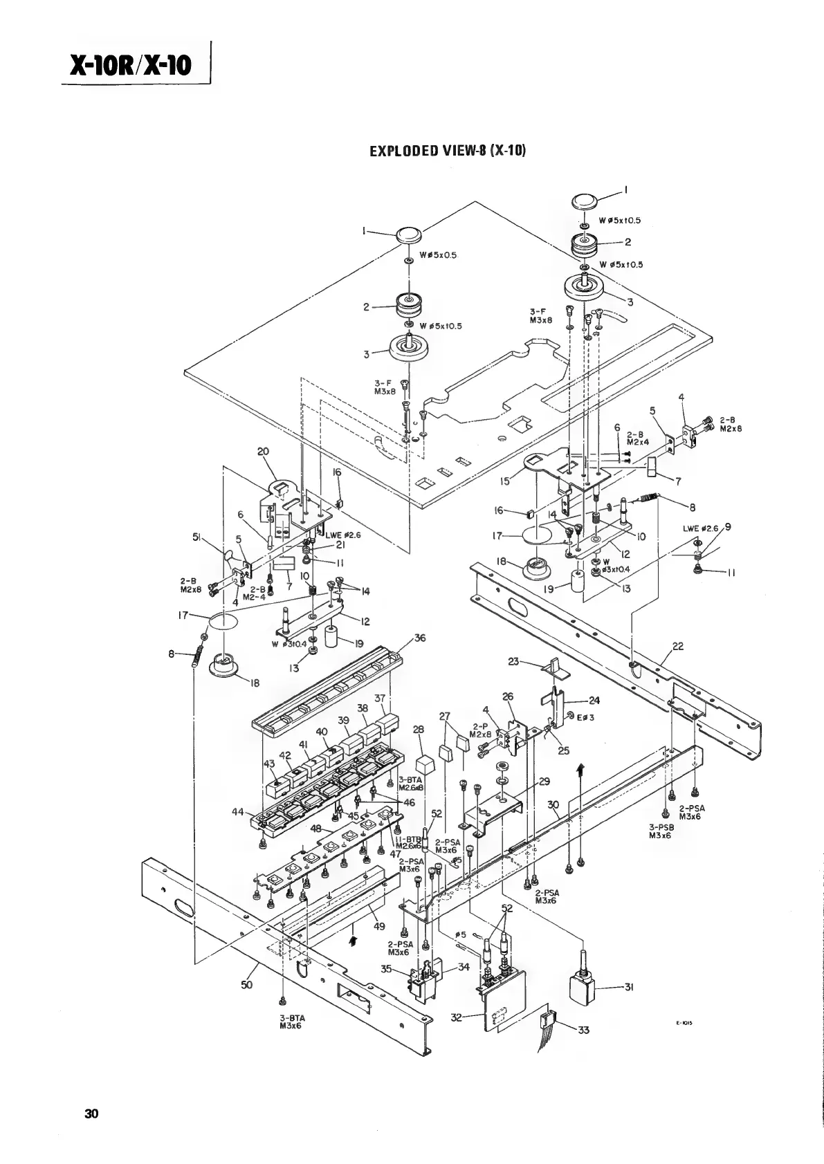
Teac X-10R - Exploded View-8 (X-10) and Parts List

Teac X-10R
66 pages
Print Icon
To Next Page IconTo Next Page
To Next Page IconTo Next Page
To Previous Page IconTo Previous Page
To Previous Page IconTo Previous Page
Loading...
9
Q-
ak
W#5xt0.5
.
E—2
|
Ye
W-8
(X-10)
W#5x05
EXPLODED
VIE
bee
|
W
65xt0.5
30
X-10R/X-10

Related product manuals