EasyManua.ls Logo

TECNA 7911 - Page 38

TECNA 7911
Print Icon
To Next Page IconTo Next Page
To Next Page IconTo Next Page
To Previous Page IconTo Previous Page
To Previous Page IconTo Previous Page
Loading...
38
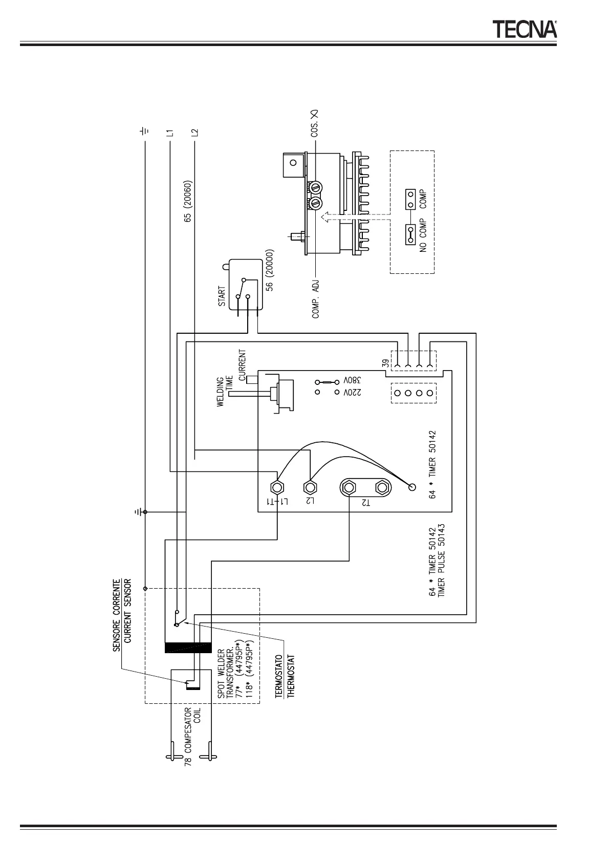
Art. / Item 7911-7913-7915
Schema elettrico
Fig. 11

Table of Contents

Related product manuals