EasyManua.ls Logo

TECOM ChallengerPlus - Page 26

TECOM ChallengerPlus
47 pages
Print Icon
To Next Page IconTo Next Page
To Next Page IconTo Next Page
To Previous Page IconTo Previous Page
To Previous Page IconTo Previous Page
Loading...
20
Telephone connection
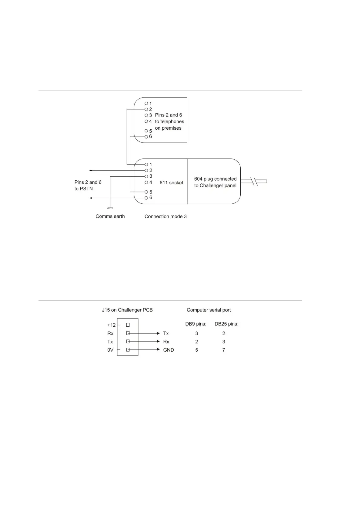
See Figure 5 on page 11, item 13. Some Challenger panel models are supplied
with a pre-wired 604 plug for connection to a 611 socket for PSTN in connection
mode 3 for dialler reporting formats (see Figure 11 below).
Figure 11: Line connections for 611 socket for dialler reporting formats
J15 serial port
See Figure 5 on page 11, item 20. The J15 port (also called STU port) may be
used for connection to a management software computer or to a printer.
Figure 12 below details the required connections from the J15 terminals to either
a DB9 or a DB25 serial connector (to a management software computer).
Figure 12: Wiring details for computer connection
LED indications
Refer to the legends of Figure 5 on page 11 for details of LED indications.

Related product manuals