EasyManua.ls Logo

Teledyne 2000A-EU - Calibration Process

Teledyne 2000A-EU
86 pages
Print Icon
To Next Page IconTo Next Page
To Next Page IconTo Next Page
To Previous Page IconTo Previous Page
To Previous Page IconTo Previous Page
Loading...
2-2
2 Operational Theory Model 2000A-EU
Teledyne Analytical Instruments
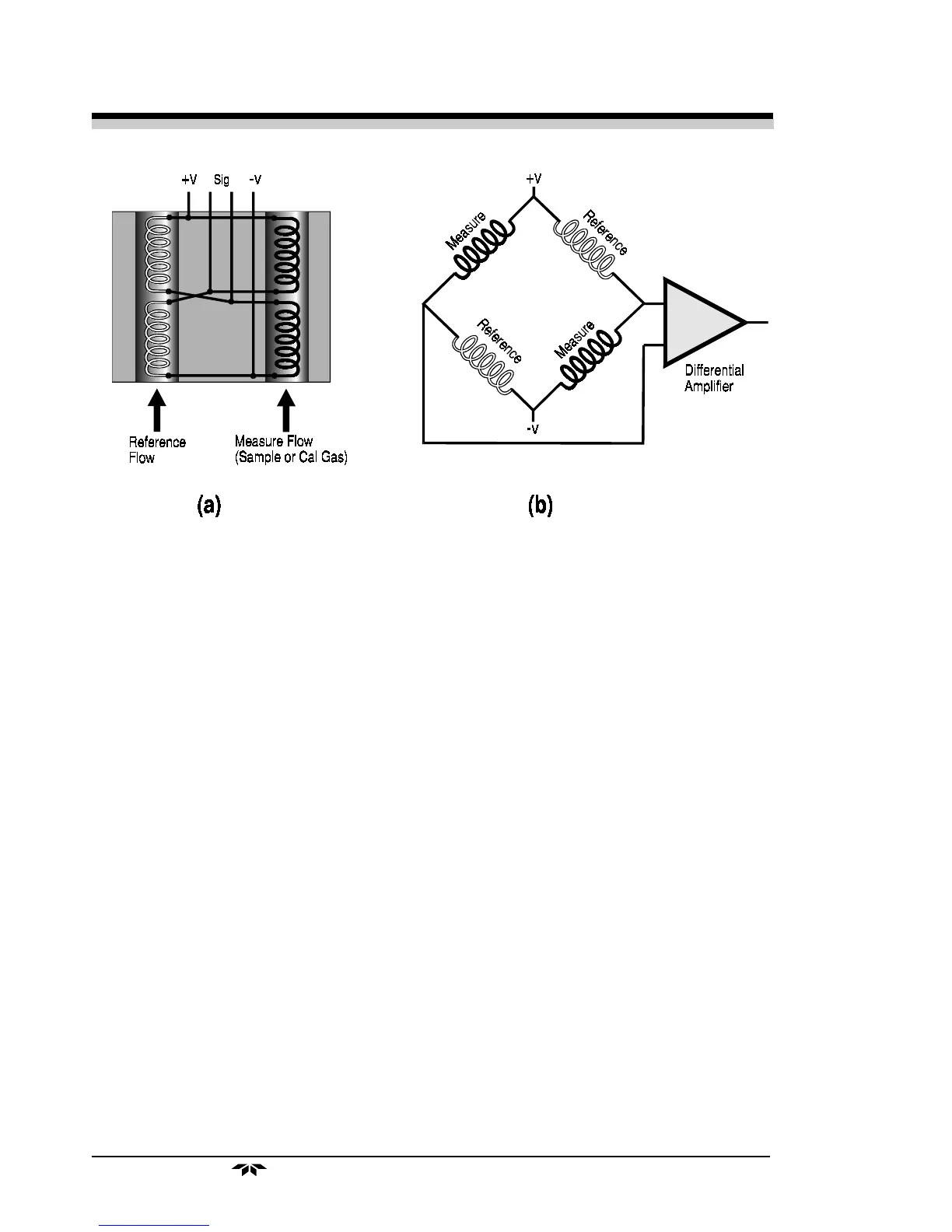
Figure 2-1: Thermal Conductivity Cell Operating Principle
If the thermal conductivities of the gases in the two chambers are
different, the Wheatstone bridge circuit unbalances, causing a current to
flow in its detector circuit. The amount of this current can be an indication
of the amount of impurity in the sample gas, or even an indication of the
type of gas, depending on the known properties of the reference and
sample gases.
The temperature of the measuring cell is regulated to within 0.1 °C by
a sophisticated control circuit. Temperature control is precise enough to
compensate for diurnal effects in the output over the operating ranges of
the analyzer. (See Specifications in the Appendix for details.)
2.2.2 Calibration
Because analysis by thermal conductivity is not an absolute measure-
ment, calibration gases of known composition are required to fix the
upper and lower parameters (“zero” and “span”) of the range, or ranges, of
analysis. These gases must be used periodically, to check the accuracy of
the analyzer.
During calibration, the bridge circuit is balanced, with zero gas
against the reference gas, at one end of the measurement range; and it is
sensitized with span gas against the reference gas at the other end of the
measurement range. The resulting electrical signals are processed by the
analyzer electronics to produce a standard 0-1V, or an isolated 4–20 mA
dc, output signal, as described in the next section.

Table of Contents

Related product manuals