EasyManua.ls Logo

Telwin BATTERY MANAGER - Page 34

Telwin BATTERY MANAGER
284 pages
Print Icon
To Next Page IconTo Next Page
To Next Page IconTo Next Page
To Previous Page IconTo Previous Page
To Previous Page IconTo Previous Page
Loading...
- 34 -
verkkopistorasiasta.
- Liitä punainen latauspihti akun positiiviseen liittimeen
(symboli +). Jos symbolit eivät erotu, muista, että
positiivinen liitin on se, jota ei ole kytketty ajoneuvon
runkoon.
- Liitä musta latauspihti ajoneuvon runkoon, kauas akusta
ja polttoainekanavasta.
HUOMAA: jos akkua ei ole asennettu ajoneuvoon,
liitä suoraan akun negatiiviseen liittimeen (symboli
-).
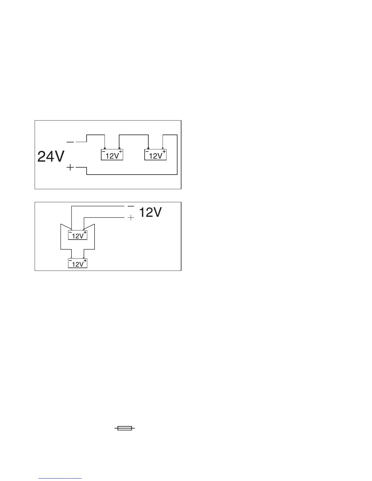
4.3 USEMMAN AKUN YHTÄAIKAINEN LATAUS
HUOMIO:älälataaakkuja,joidenkapasiteetti,tyhjyys
ja tyyppi ovat erilaisia keskenään. Jouduttaessa
lataamaansamaanaikaanuseitaakkujavoidaantehdä
”sarja-”tai”rinnakkais”kytkentöjä:
sarja
rinnakkais
”Rinnakkais”kytkentä vaatii, että akuilla on sama
nimellisjännite (Volt), joka vastaa akkulaturin
ulostulojännitettä ja Ah:n yhteissumma on akkulaturin
latausalueella.
”Sarja”kytkentä vaatii, että akuilla on sama kapasitetti (Ah)
ja että kaikkien akkujen nimellisjännitteiden yhteissumma
vastaa akkulaturin ulostulojännitettä.
4.4 LATAUKSEN LOPPU
- Poista virransyöttö akkulaturista vetämällä sähköjohdon
pistoke pois sähköverkon pistorasiasta.
- Irrota musta latauspihti ajoneuvon rungosta tai akun
negatiivisesta liittimestä (symboli -).
- Irrota punainen latauspihti akun positiivisesta liittimestä
(symboli +).
- Aseta akkulaturi kuivaan paikkaan.
- Sulje akun kennot siihen tarkoitetuilla tulpilla (jos
mukana).
5. TOIMINTA KÄYNNISTYKSEN APULAITTEENA (versio
50)
HUOMIO: katso ennen toimenpiteitä huolellisesti
ajoneuvojenvalmistajienvaroitukset!
- Suojaa virransyöttölinja sulakkeilla tai
automaattikatkaisimilla, joiden arvo vastaa tietokyltissä
ilmoitettua arvoa symbolilla (
).
- Käynnistyksen helpottamiseksi tee etukäteen 10-15
minuutin pikalataus akkulaturi latausasennossa EIKÄ
käynnistysasennossa.
- Jos ajoneuvo ei käynnisty, odota muutama minuutti ja
toista nopea lataus. Älä jatka enempää, jos ajoneuvon
moottori ei käynnisty; akku tai jopa ajoneuvon
sähkölaitteisto voi vaurioitua pahasti.
5.1 AKKULATURIN/AKUN LIITÄNTÄ
- Varmista ennen ajoneuvon käynnistystä, että akun
nimellisjännitteen arvo vastaa akkulaturiin asetettua
arvoa.
- Varmista, että akku on hyvin liitetty vastaaviin liittimiin (+
ja -), ja että liitokset akkuun ovat oikein, ja että akku on
hyvässä kunnossa (ei ole sulfonoitunut eikä viallinen).
- Älä missään tapauksessa käynnistä ajoneuvoja,
joiden akut ovat irti vastaavista liitoksista; akku on
välttämätön mahdollisesti käynnistysvaiheiden aikana
liitoskaapeleihin kerääntyvän energian vaikutuksesta
johtuvien ylijännitteiden eliminoimiseksi. Näiden
määräystenhuomioimattajättäminenvoivaurioittaa
ajoneuvonelektroniikkaa.
5.2 KÄYNNISTYKSEN LISÄLAITE
- Tämän toiminnon valitsemiseksi katso ohje
“KÄYNNISTYKSEN LISÄLAITE”.
5.3 KÄYNNISTYKSEN LOPPU
- Poista sähköjohdon pistoke sähköverkon pistorasiasta.
- Irrota musta latauspihti akun negatiivisesta liittimestä
(symboli -) sekä punainen latauspihti akun positiivisesta
liittimestä (symboli +).
- Aseta akkulaturi kuivaan paikkaan.
6. HYÖDYLLISIÄ NEUVOJA
- Puhdista positiivinen ja negatiivinen liitin mahdollisista
oksidikertymistä niin, että varmistetaan pihtien hyvä
kosketus.
- Jos akkulaturilla käytettäväksi aiottu akku on pysyvästi
asennettuna ajoneuvoon, katso myös ajoneuvon ohje-
ja/tai huoltokirjasta kohta “SÄHKÖASENNUS” tai
“HUOLTO”.

Related product manuals