EasyManua.ls Logo

TemperZone HWP 35 - Fig. 6 Application Considerations

TemperZone HWP 35
8 pages
Print Icon
To Next Page IconTo Next Page
To Next Page IconTo Next Page
To Previous Page IconTo Previous Page
To Previous Page IconTo Previous Page
Loading...
4
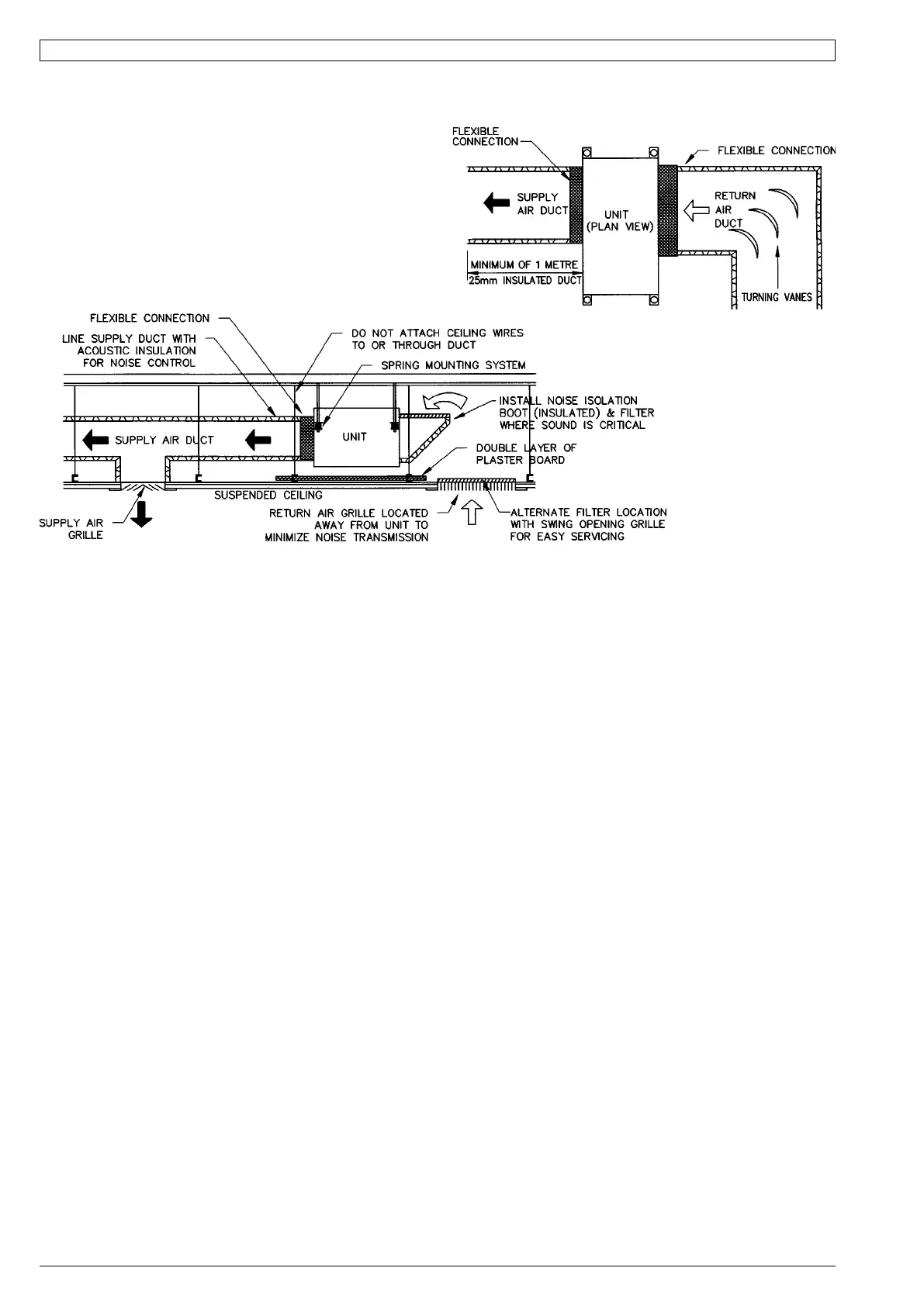
Recommendations for Noise Isolation:
1. Avoid installing units, with non-ducted return air, directly above
spaces where noise is critical.
2. Use flexible connections between unit and rigid ducting.
3. Use generously sized acoustically lined ducts.
4. If generous duct size is not possible, use turning vanes on bends
to reduce air turbulence (regenerated noise).
5. Use 90° bends in ducting to significantly assist in noise reduction.
Fig. 6 Application Considerations

Related product manuals