EasyManua.ls Logo

Textron Cessna Skyhawk SP - Page 264

Textron Cessna Skyhawk SP
322 pages
Print Icon
To Next Page IconTo Next Page
To Next Page IconTo Next Page
To Previous Page IconTo Previous Page
To Previous Page IconTo Previous Page
Loading...
SECTION 7 CESSNA
AIRPLANE AND SYSTEM DESCRIPTION MODEL 172S NAV III
GFC 700 AFCS
U.S.
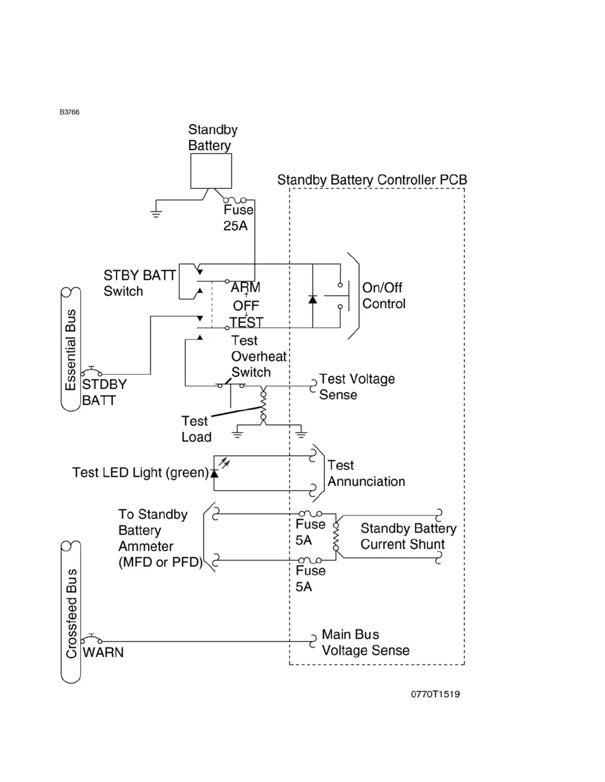
ELECTRICAL SYSTEM (Continued)
Figure 7-7 (Sheet 3)
172SPHBUS-00
7-50

Table of Contents

Related product manuals