EasyManua.ls Logo

Time TV-300 - View Function

Time TV-300
22 pages
Print Icon
To Next Page IconTo Next Page
To Next Page IconTo Next Page
To Previous Page IconTo Previous Page
To Previous Page IconTo Previous Page
Loading...
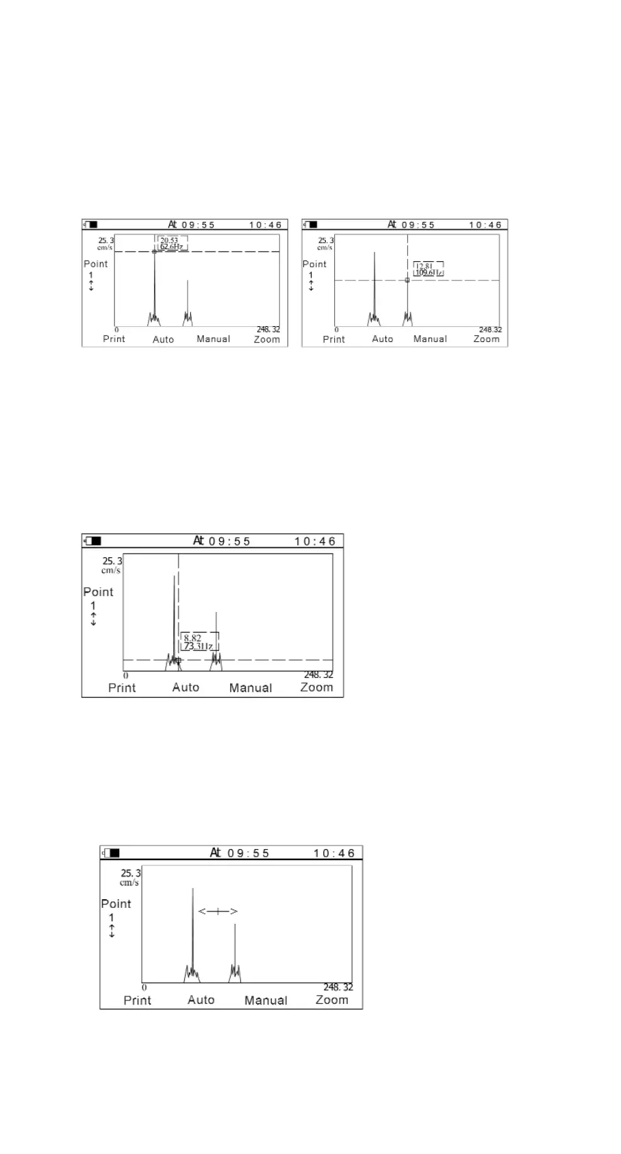
The "Analyse" menu consists of "Print", "Auto", "Adjust" and "Zoom" four sub items.
- Print: Print out current spectral charts.
- Auto:
Peak values of the spectral chart could be automatically captured. And different
peak values could be selected by Left/Right keys. (see Figure 5-4)
Figure 5-4 A B
Figure (a) shows the peak-peak value tested is 62.6Hz, that maybe the rev of the
tested object;
Figure (b) shows the peak value tested is 109.6Hz, that maybe the inherent
frequency of the tested object;
- Manual
The values of different points in the charts can be looked through in the manual
style. The cursor position can be adjusted by Left/Right keys. The amplitude and
frequency of the point, which the cursor indicates, can be displayed.
(see Figure 5-5).
Figure 5-5
- Zoom
In spectrum analysis, the spectrum zoom function can change the frequency
resolution in the range selected by users. Firstly, to select the range of the
frequency----that is the concerned area, press Left/Right keys to move the
cursor. The cursor could move more quickly when the Left or Right key is hold.
Secondly, Up/Down keys could change the frequency resolution. The resolution
could reach 0.25Hz.
Figure 5-6
12 Manual TV-300

Related product manuals