EasyManua.ls Logo

Titanium Office Professional A3 - Parti Dellapparecchio

Titanium Office Professional A3
Print Icon
To Next Page IconTo Next Page
To Next Page IconTo Next Page
To Previous Page IconTo Previous Page
To Previous Page IconTo Previous Page
Loading...
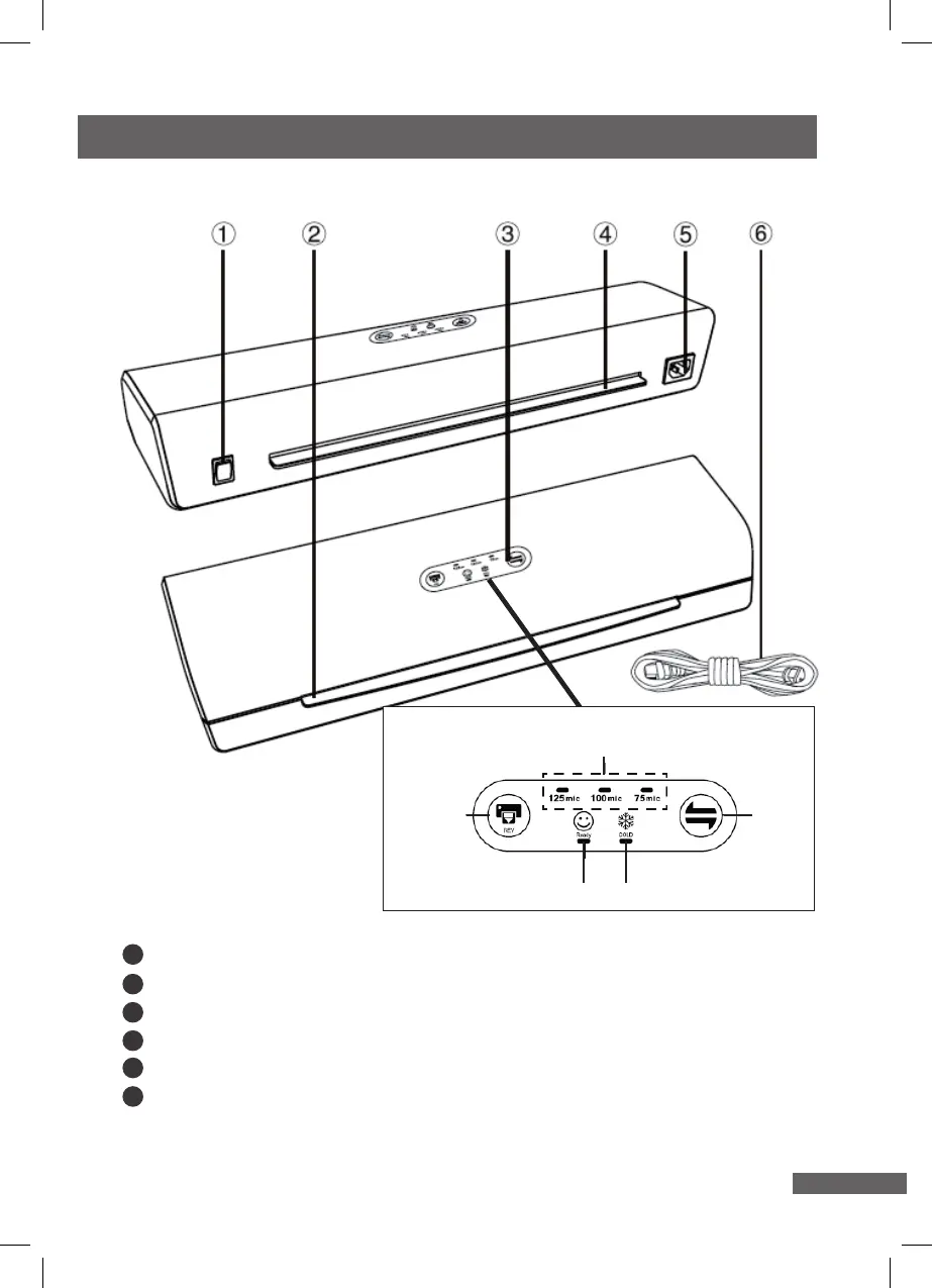
2. Parti dell’apparecchio
5
OceProfessional A3
5
Interruttore di accensione / spegnimento (ON/OFF)
Vano di inserimento della pouch
Pannello operativo Touch
Uscita pouch
Ingresso cavo di alimentazione
Cavo di alimentazione
1
2
3
4
5
6
6
Selezione spessore pouches
Indicatore plasticatrice “pronta
Indicatore di riscaldamento plasticatrice
Indicatore plasticazione a freddo
Inversione
plasticazione
Bottone
operativo
(opzioni)
Descrizione Pannello Operativo Touch

Table of Contents

Related product manuals