EasyManua.ls Logo

Toa A-5006 - RACK-MOUNTING THE MIXER AMPLIFIER

Toa A-5006
24 pages
Print Icon
To Next Page IconTo Next Page
To Next Page IconTo Next Page
To Previous Page IconTo Previous Page
To Previous Page IconTo Previous Page
Loading...
17
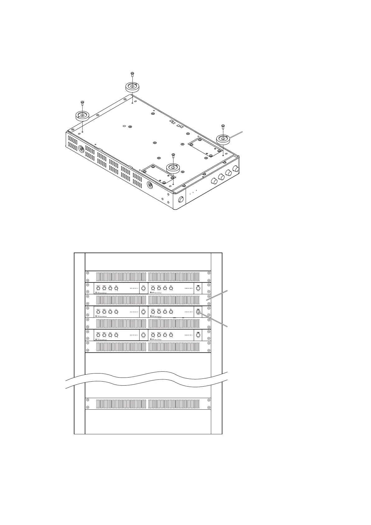
10. RACK-MOUNTING THE MIXER AMPLIFIER
To mount the unit in an equipment rack, use the optional YA-706 guide rail and either the MB-15B-BK (for 1 unit) or
MB-15B-J (for 2 units) bracket set. Before mounting, remove the four plastic feet attached to the bottom surface
of the unit.
Plastic foot
Perforated panel
(panel with ventilation openings)
A-5016/A-5012 unit
Note
To improve ventilation, ensure that a perforated panel (panel with air openings) of 1-unit size or greater is
mounted over and under each unit, as well as on the top and at the bottom of the rack.

Other manuals for Toa A-5006

Related product manuals