EasyManua.ls Logo

Toa MA-725F - Block Diagrams

Toa MA-725F
36 pages
Print Icon
To Next Page IconTo Next Page
To Next Page IconTo Next Page
To Previous Page IconTo Previous Page
To Previous Page IconTo Previous Page
Loading...
30
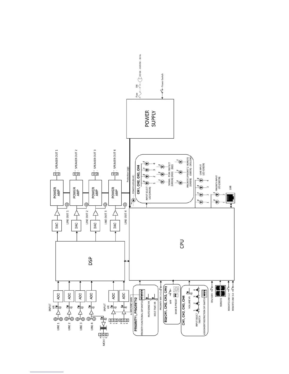
14. BLOCK DIAGRAMS
MA-725F