EasyManua.ls Logo

Toshiba RAS-07NKHD-E - Troubleshooting for Air Purifier and Minus Ion

Toshiba RAS-07NKHD-E
86 pages
Print Icon
To Next Page IconTo Next Page
To Next Page IconTo Next Page
To Previous Page IconTo Previous Page
To Previous Page IconTo Previous Page
Loading...
FILE NO. SVM-04022
– 70 –
9-7. Troubleshooting for Air Purifier and Minus Ion
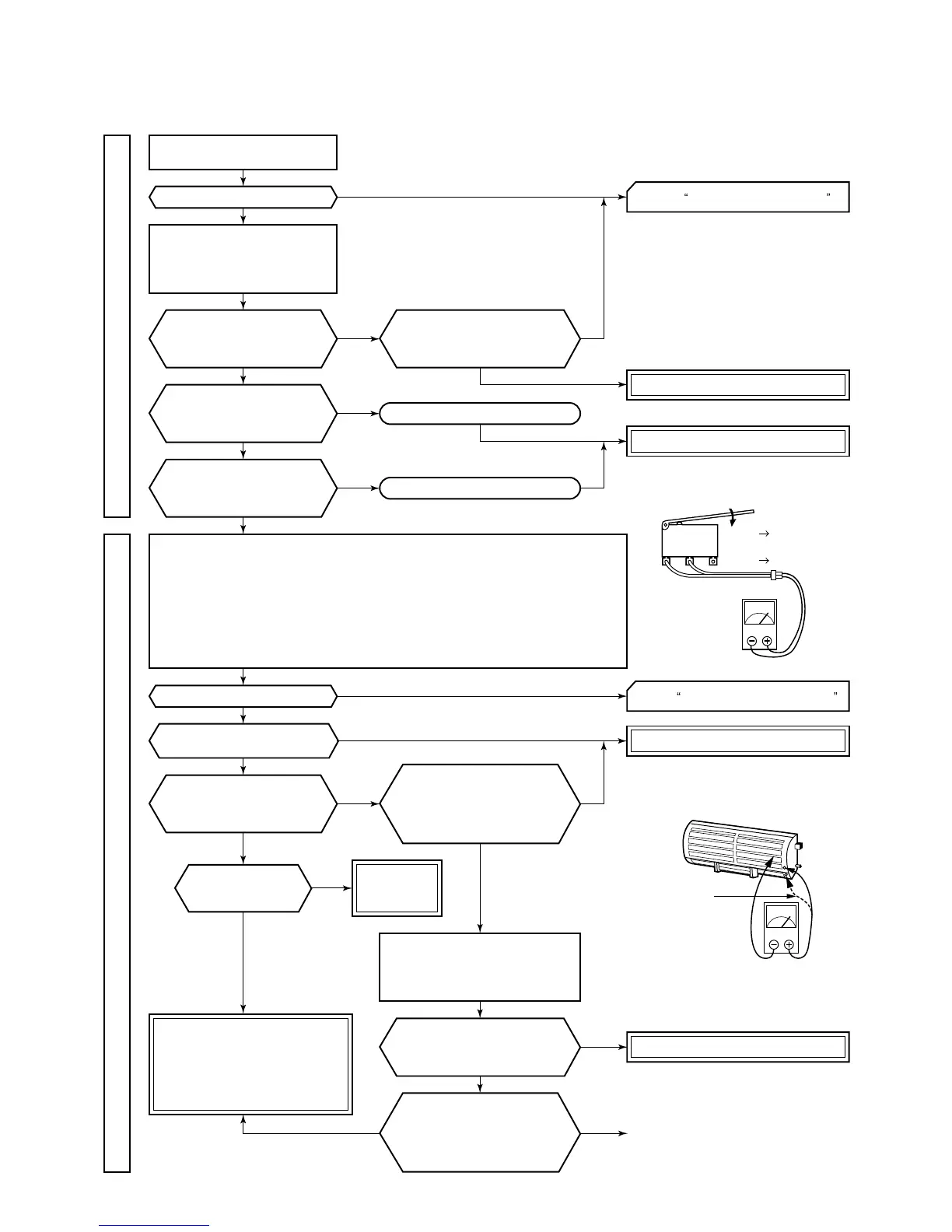
9-7-1. How to Check Whether the Air Purifier is Good or Not
Push the switch
ON
Releaes the switch
OFF
ON
Tester
Ionizer
Output
High-voltage tester
Collector
output
Micro-switch malfunction
Micro-switch is stuck
Is DC12V applied
between
1
(+) and
2
()
of CN33 of the main
P.C. board (MCC-5007)?
Are the dust
collector/ionizer/ionized
wire units dirty?
Is an abnormal sound
(cracking noise) heard
from the electrode?
Is output of the ionizer
approx. 3.9kV to 4.7kV?
Is output of the collector
approx. 2.9kV to 3.7kV?
Refer to items, cleaning and check
for the dust collector/ionizer/ionized
wire units.
When the ionized wire is
disconnected or when dirt is
not cleaned even cleaned,
replace each unit.
Referring to the right figure, check the
high-output voltage of the air filter unit.
(NOTE)
Use an exclusive high voltage tester;
otherwise the tester may be broken.
Dry the dust
collector and
ionizer.
Is DC-5V to DC-10V
applied between
4 (Brown/Negative voltage)
and 2 (Brown/GND)
of CN33 of the main
P.C. board?
Are the dust collector
and ionizer dried?
(Electrode check)
Does the plasma lamp
go off within 2 seconds after
it was ON, and does the
filter lamp (Orange) go on?
Does the plasma lamp (Blue) or
the filter lamp (Orange) go on?
1) Check operation while short-circuiting CN34 of the main P.C. board.
2) Perform air purifying operation by the remote control.
In this time, check that the remote control is in status which is shortened by time on
the reactivation preventive timer and all display lamps go on for approx. 3 seconds
when a signal is received.
If time on the reactivation preventive timer is not shortened,
the high-voltage is not applied to electrode of the air purifier for approx. 1 hour.
While the air purifier operates, check that the fan speed [AUTO] is not displayed.
(Because the power ON/OFF is controlled on the program)
3) Be sure not to touch the dust collector, ionizer, or ionized wire unit with the human body.
Does the OPERATION lamp blink?
Replace the high-voltage unit.
Replace the main P.C. board (MCC-5007).
Replace micro-switch.
Turn off the power breaker and
remove CN34 (Micro switch connector).
Short-circuit between 1 and 2 pin
of CN34 at PC side, and turn on the
power breaker after 10 seconds.
[ ]
GND
No trouble
• Conduction check of micro-switch
YES
YES
NO
YES
NO
NO
YES
NO
Turn off the power breaker once,
and turn on again after 10 seconds.
Operation check Primary check
Is there conduction of
micro-switch connector under
OFF status of the micro-switch
(Front panel opened)?
Is there conduction of
micro-switch connector under
ON status of the micro-switch
(Front panel closed)?
Does the indoor fan rotate?
Is DC12V applied
between
1
(Red/DC12V) and
(Brown/GND) of CN1 of the
high-voltage unit?
Replace the main P.C. board (MCC-5007)
YES
YES
YES
YES
YES
NO
NO
NO
YES
YES
YES
NO
NO
NO
YES
NO
• How to check output of the air purifier
<Caution on High Voltage!!>
Be sure not to come to
contact to the silver part
or not to touch the
ionized cables.
( )
( )
To item Power supply is not turned on
To item Only indoor fan does not operate

Table of Contents

Related product manuals