EasyManua.ls Logo

TR-Electronic CDH582 - Calculating the delay for a moving axis

Default Icon
154 pages
Print Icon
To Next Page IconTo Next Page
To Next Page IconTo Next Page
To Previous Page IconTo Previous Page
To Previous Page IconTo Previous Page
Loading...
Parameterization and configuration
TR-Electronic GmbH 2019, All Rights Reserved Printed in the Federal Republic of Germany
Page 76 of 154 TR - ECE - BA - GB - 0139 - 02 11/21/2019
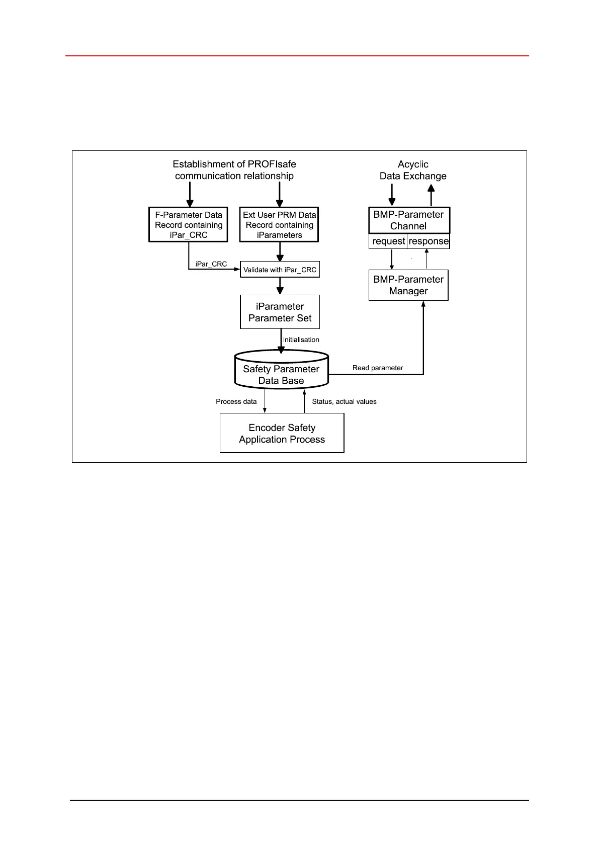
6.3.2 Parameter access and initialization (safety-related)
Figure 13 shows the database of safety-related parameters and the access mechanism or initialization
of the parameter data.
Figure 13: Parameter access and initialization (safety-related)
The iParameters (individual safety parameters) and the F-parameters (PROFIsafe parameter set) are
set using a configuration tool and sent by the safety-related control (F Host) to the measuring system
during startup.
To ensure the secure transmission of iParameters, the F-parameter data block contains the F-
parameter F_iPar_CRC. The parameter contains the checksum value (CRC) from all iParameters of
the device-specific part of the measuring system and ensures the secure transmission of iParameters.
To further ensure the secure transmission of F-Parameters, the F-parameter data block contains the
F-parameter F_Par_CRC. The parameter contains the checksum value (CRC) from all F-Parameters
of the measuring system and ensures the secure transmission of F-Parameters.
The measuring system also generates a checksum from the iParameters transmitted by the F Host.
This checksum is compared in the measuring system with the checksum provided by the F Host. If
both F_iPar_CRC are identical, the measuring system switches to the cyclic data exchange during
startup, otherwise the measuring system will not start up.
The checksum value pre-programmed into the parameters F_iPar_CRC and F_Par_CRC applies to
the current standard setting of all parameters and can be used as such during plant configuration.
Every change under a data block requires a new calculation of the respective checksum value
F_iPar_CRC or F_Par_CRC. A change of the iParameters therefore requires a new calculation of the
checksum value for the F-parameter F_Par_CRC.

Table of Contents

Other manuals for TR-Electronic CDH582

Related product manuals