EasyManua.ls Logo

Tracker PRO Series - Lamp Alignment and Fixture Mounting; Lamp Beam Alignment Procedure; Fixture Mounting and Safety

Tracker PRO Series
27 pages
Print Icon
To Next Page IconTo Next Page
To Next Page IconTo Next Page
To Previous Page IconTo Previous Page
To Previous Page IconTo Previous Page
Loading...
11
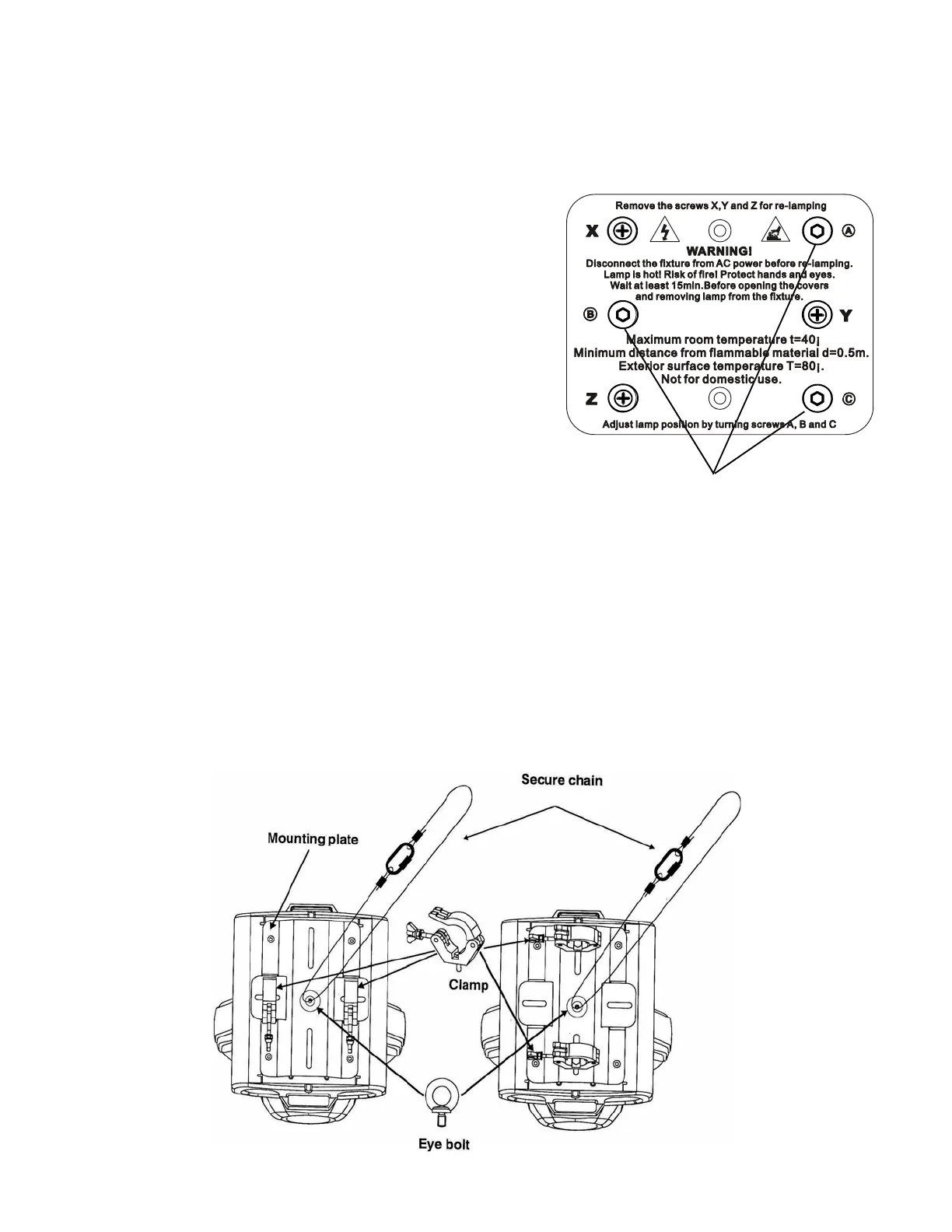
Lamp Alignment
Due to slight variations between lamps it may be necessary to perform fine adjustments
to remove excessively dark or bright spots in the output field. The lamp holder is aligned
at the factory, large adjustments to the alignment will not be necessary. Excessively
bright spots can damage optical components.
1. Apply power to the fixture.
2. Using a controller, strike the lamp with
shutter and dimmer to 100% and project an
open white beam on a flat neutral colored
surface.
3. Center the bright spot of the beam using
the Adjustment Screws A, B and C.
4. After centering the bright spot of the beam,
turn each Adjustment screw ¼ turn either
all clock wise or all counter clock wise until
the projected beam is as evenly bright as
possible.
Mounting
Always consult a qualified professional when rigging. This fixture may be placed on any flat
surface or truss that is capable of safely supporting the weight. When selecting a mounting
position, take into consideration access for routine maintenance. This fixture may be mounted in
any position provided there is adequate room for movement and ventilation. Mount the fixture
securely using two mounting clamps and a safety cable. An Eye Bolt is provided for safety
attachment. Safety cables must always be attached to the fixture. Do not use handles as
secondary mounting points. Do not mount in a place where the fixture will be exposed to rain,
high humidity, extreme temperature changes or restricted ventilation. Do not obstruct the vents
or fans. Keep fixture a minimum of 3.3ft (1m) from flammable materials.
3 ad
j
ustment screws "A,B,C"